授权公布号:CN208162230U
一种超声波清洗玻璃机
有效
申请
2018-03-08
申请公布
1970-01-01
授权
2018-11-30
预估到期
2028-03-08
| 申请号 | CN201820314611.7 |
| 申请日 | 2018-03-08 |
| 授权公布号 | CN208162230U |
| 授权公告日 | 2018-11-30 |
| 分类号 | B08B11/00;B08B3/12;B08B3/08;B08B3/10;F26B21/00 |
| 分类 | 清洁; |
| 申请人名称 | 东莞市宏诚光学制品有限公司 |
| 申请人地址 | 广东省东莞市茶山镇增埗村麒麟城工业区新益大厦 |
专利法律状态
2018-11-30
授权
状态信息
授权
摘要
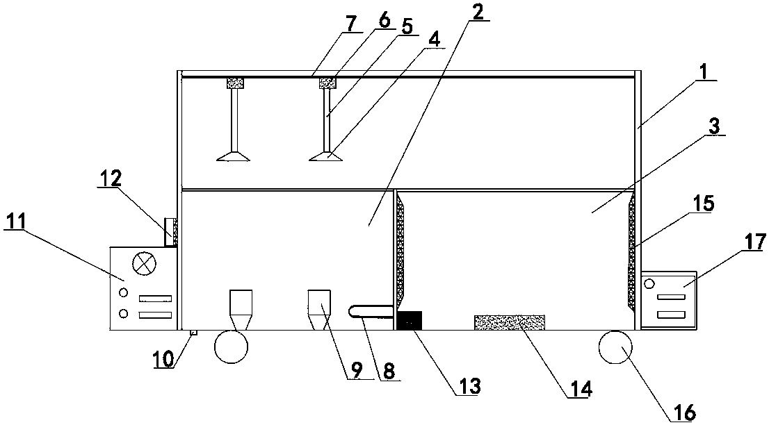
本实用新型公开了一种超声波清洗玻璃机,包括机体、清洗室、干燥室、电加热器、超声波发射头、超声波发生器、吸盘、电动伸缩杆和滑轨,所述机体内一侧设置有清洗槽,所述清洗槽内底部设置有超声波发射头,所述清洗槽一侧底端设置有电加热器,所述机体另一侧设置有干燥室,所示干燥室内两侧设置送风口,所述干燥室内底部设置有电加热陶瓷,所述电加热陶瓷一侧设置有温度控制器,所述机体的内顶部设置有滑轨,所述滑轨内设置有滑块,所述滑块下端设置有电动伸缩杆,所述电动伸缩杆下端设置有吸盘,所述机体一侧设置有超声波发生器。本实用新型通过超声波装置可以对玻璃进行高效的清洁,并通过热风机提供快速干燥功能,简单实用。


