授权公布号:CN212856448U
一种匀胶铬版自动旋涂机
有效
申请
2020-09-09
申请公布
1970-01-01
授权
2021-04-02
预估到期
2030-09-09
| 申请号 | CN202021950474.X |
| 申请日 | 2020-09-09 |
| 授权公布号 | CN212856448U |
| 授权公告日 | 2021-04-02 |
| 分类号 | B05C13/02;B05C11/10;B05C11/08 |
| 分类 | 一般喷射或雾化;对表面涂覆液体或其他流体的一般方法〔2〕; |
| 申请人名称 | 东莞市宏诚光学制品有限公司 |
| 申请人地址 | 广东省东莞市茶山镇黄岭路62号 |
专利法律状态
2021-04-02
授权
状态信息
授权
摘要
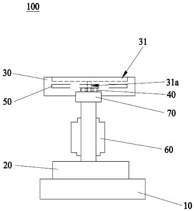
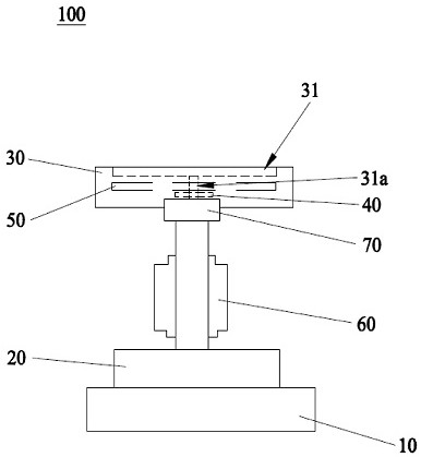
本实用新型公开了一种匀胶铬版自动旋涂机,包括机架、旋转装置以及承载盘,旋转装置安装于机架上,旋转装置的输出端与承载盘连接并驱使该承载盘转动,承载盘的顶面凹陷形成有与匀胶铬版相匹配的矩形的放置部,放置部内开设有贯穿承载盘的吸孔并通过吸孔与外界的抽真空装置连接。本实用新型在实际的使用过程中,可以通过将匀胶铬版放置于该放置部上从而实现了对该匀胶铬版的卡合固定,同时,还可以通过位于放置部的吸孔对匀胶铬版进行吸附,使得在本实用新型的匀胶铬版自动旋涂机的工作过程中,不但可以通过旋转装置带动匀胶铬版旋转从而使得对匀胶铬版的涂胶更加均匀,而且匀胶铬版始终被稳定地吸附在放置部内而不容易被甩出以致于受损。


