授权公布号:CN212870662U
一种防雾化装置
有效
申请
2020-09-09
申请公布
1970-01-01
授权
2021-04-02
预估到期
2030-09-09
| 申请号 | CN202021950465.0 |
| 申请日 | 2020-09-09 |
| 授权公布号 | CN212870662U |
| 授权公告日 | 2021-04-02 |
| 分类号 | F26B21/00;G03F1/82 |
| 分类 | 干燥; |
| 申请人名称 | 东莞市宏诚光学制品有限公司 |
| 申请人地址 | 广东省东莞市茶山镇黄岭路62号 |
专利法律状态
2021-04-02
授权
状态信息
授权
摘要
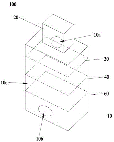
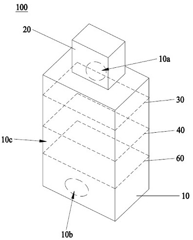
本实用新型公开了一种防雾化装置,包括座体、吹气装置、加热装置以及第一放置架,座体的顶部开设有进气孔,座体的底部侧壁开设有出气孔,座体内设置有中空结构,吹气装置安装于座体的顶部并通过进气孔朝中空结构处吹气,加热装置和第一放置架均安装于中空结构,且加热装置位于吹气装置的下方,第一放置架位于加热装置的下方,第一放置架内开设有用于放置玻璃基版的第一容置空间,第一放置架的顶部和底部均开设有若干导流孔。本实用新型通过以上结构可以实现对第一容置空间内的玻璃基版吹送出热气,以实现玻璃基版的防雾化。


