授权公布号:CN212864544U
一种环保型电阻式玻璃退火炉
有效
申请
2020-08-11
申请公布
1970-01-01
授权
2021-04-02
预估到期
2030-08-11
| 申请号 | CN202021656602.X |
| 申请日 | 2020-08-11 |
| 授权公布号 | CN212864544U |
| 授权公告日 | 2021-04-02 |
| 分类号 | C03B25/00;B01D46/30 |
| 分类 | 玻璃;矿棉或渣棉; |
| 申请人名称 | 宜兴市艳阳天炉业有限公司 |
| 申请人地址 | 江苏省无锡市宜兴市和桥镇工业园区创业大道2号 |
专利法律状态
2021-04-02
授权
状态信息
授权
摘要
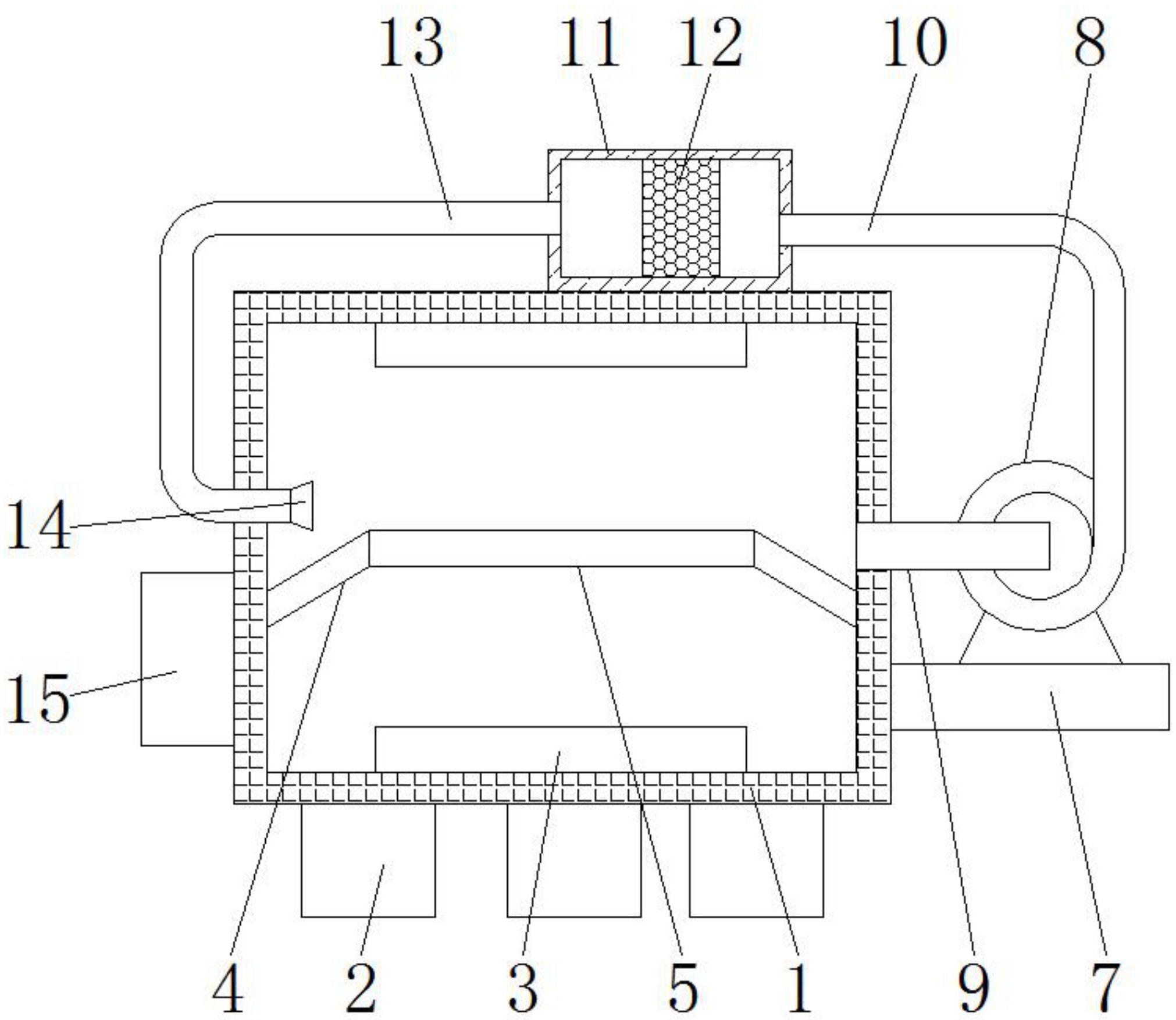
本实用新型公开了一种环保型电阻式玻璃退火炉,包括炉体,炉体的底部固定安装有支撑柱,且炉体的内底壁和内顶壁均固定安装有加热块,炉体的左右两侧内壁均固定安装有支撑架,且两个支撑架之间固定安装有放置板,且放置板上设有通孔,炉体的右侧面固定安装有机板,机板的顶部固定安装有抽风机,且抽风机的左右两侧分别连通有进风管和出风管,进风管远离抽风机的一端贯穿延伸至炉体的内部,炉体的顶部固定安装有处理箱,处理箱的内部设有过滤棉,出风管远离抽风机的一端贯穿延伸至处理箱的内部,处理箱的左端连通有导风管。该实用新型对退火过程气体中含有的杂质进行吸收后重新吹入炉体中,利用气体中的余热,环保效果好。


