授权公布号:CN212870490U
一种箱式循环热风烘干装置
有效
申请
2020-08-11
申请公布
1970-01-01
授权
2021-04-02
预估到期
2030-08-11
| 申请号 | CN202021656587.9 |
| 申请日 | 2020-08-11 |
| 授权公布号 | CN212870490U |
| 授权公告日 | 2021-04-02 |
| 分类号 | F26B21/04;F26B25/00;F26B25/12;F26B9/06 |
| 分类 | 干燥; |
| 申请人名称 | 宜兴市艳阳天炉业有限公司 |
| 申请人地址 | 江苏省无锡市宜兴市和桥镇工业园区创业大道2号 |
专利法律状态
2021-04-02
授权
状态信息
授权
摘要
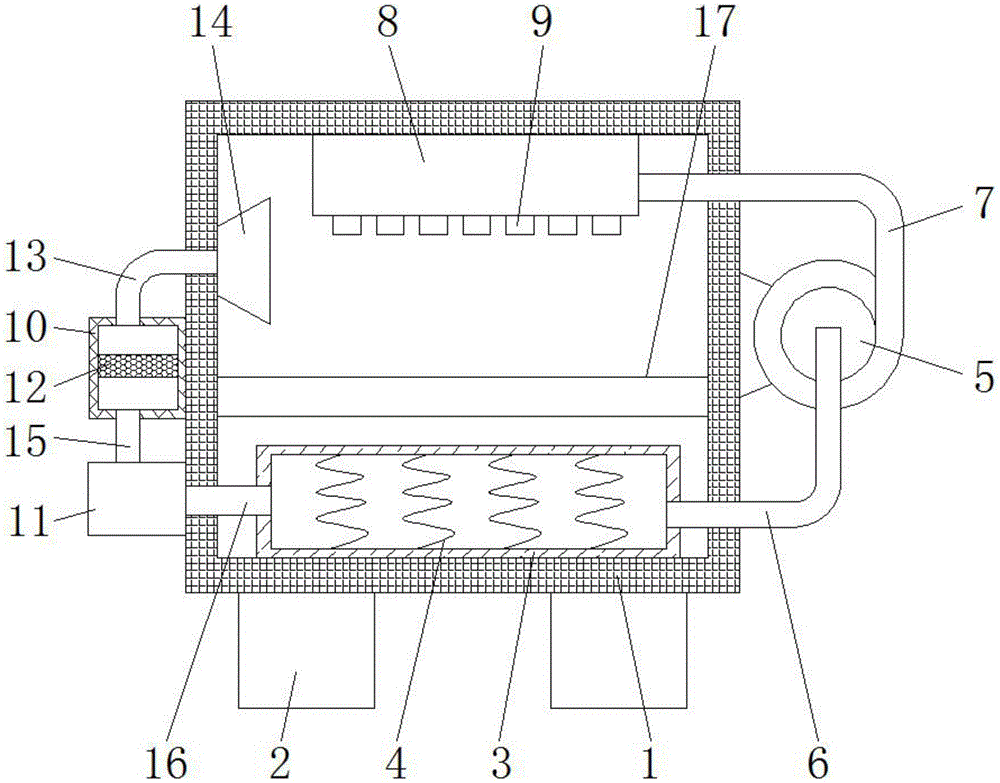
本实用新型公开了一种箱式循环热风烘干装置,包括主箱体,主箱体的底部固定安装有两个相对称的立柱,且主箱体的内底壁固定安装有加热箱,加热箱的内部设有加热丝,主箱体的右侧面通过安装座固定安装有抽风机,抽风机的进风端和出风端分别连通有第一风管和第二风管,第一风管远离抽风机的一端依次贯穿主箱体和加热箱并延伸至加热箱的内部,主箱体的内顶壁固定安装有条形箱,且条形箱的右侧与第二风管相连通,条形箱的底部设有支管,主箱体的左侧面自上而下依次固定安装有过滤箱和鼓风机,过滤箱的内部设有过滤块,且过滤箱的顶部设有导管。该实用新型利用抽风机和鼓风机之间的配合完成热风循环式的均匀加热,烘干效果好。


