授权公布号:CN210664177U
一种计量校准钢直尺检定台
有效
申请
2019-10-30
申请公布
1970-01-01
授权
2020-06-02
预估到期
2029-10-30
| 申请号 | CN201921846595.7 |
| 申请日 | 2019-10-30 |
| 授权公布号 | CN210664177U |
| 授权公告日 | 2020-06-02 |
| 分类号 | G01B3/04 |
| 分类 | 测量;测试; |
| 申请人名称 | 上海标卓科学仪器有限公司 |
| 申请人地址 | 上海市奉贤区扶港路1088号2幢1218室 |
专利法律状态
2020-06-02
授权
状态信息
授权
摘要
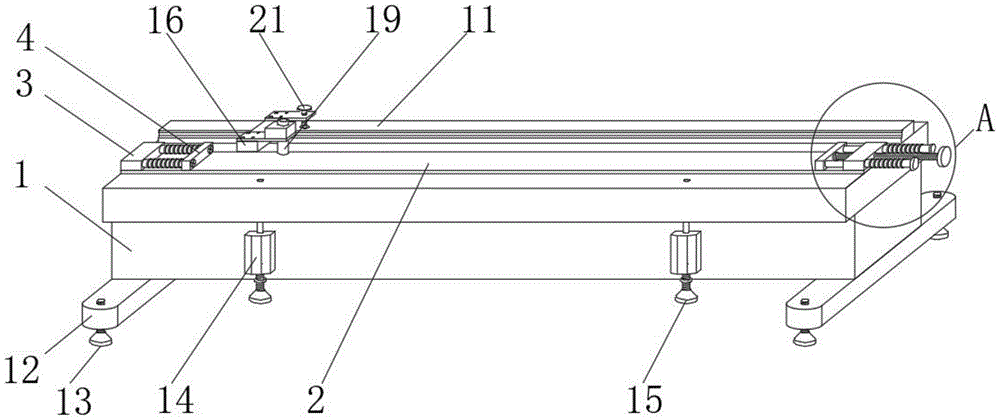
本实用新型属于直尺检测技术领域,尤其为一种计量校准钢直尺检定台,包括工作台、固定在所述工作台上的导轨和固定在所述工作台底部两端设置的底座,所述工作台的上表面固定有检测平面,所述限位栓贯穿所述第二固定块的一端外侧安装有弹簧,所述底座上开设的两组螺纹孔内部螺纹连接有支脚的一端,所述工作台的两侧分别固定有两组侧块,所述侧块上螺纹连接有调节杆;所述导轨上滑动安装有滑块,所述滑块上开设有滑槽,所述滑块一端活动连接有第一连接块,所述第一连接块上固定有显微镜;滑块通过滑槽在导轨上进行滑动,改变导轨和滑块之间的相对位置,借助显微镜对金属线纹尺进行检测,避免人工检测出现的误差,提高金属线纹尺检测的精准度。


