授权公布号:CN108375519B
一种机工制造用钢材硬度检测装置
有效
申请
2018-02-12
申请公布
2018-08-07
授权
2021-03-12
预估到期
2038-02-12
| 申请号 | CN201810145445.7 |
| 申请日 | 2018-02-12 |
| 申请公布号 | CN108375519A |
| 申请公布日 | 2018-08-07 |
| 授权公布号 | CN108375519B |
| 授权公告日 | 2021-03-12 |
| 分类号 | G01N3/40 |
| 分类 | 测量;测试; |
| 申请人名称 | 东莞市快捷量具仪器有限公司 |
| 申请人地址 | 广东省东莞市塘厦镇塘福路3号怡兴商贸广场1栋606室 |
专利法律状态
2021-03-12
授权
状态信息
授权
2021-03-02
专利申请权、专利权的转移
状态信息
专利申请权的转移;IPC(主分类):G01N3/40;专利申请号:2018101454457;登记生效日:20210219;变更事项:申请人;变更前权利人:雷钦英;变更后权利人:东莞市快捷量具仪器有限公司;变更事项:地址;变更前权利人:300450 天津市滨海新区和平路212号;变更后权利人:523710 广东省东莞市塘厦镇塘福路3号怡兴商贸广场1栋606室
2018-08-31
实质审查的生效
状态信息
实质审查的生效;IPC(主分类):G01N3/40;专利申请号:2018101454457;申请日:20180212
2018-08-07
发明专利申请公布
状态信息
公布
摘要
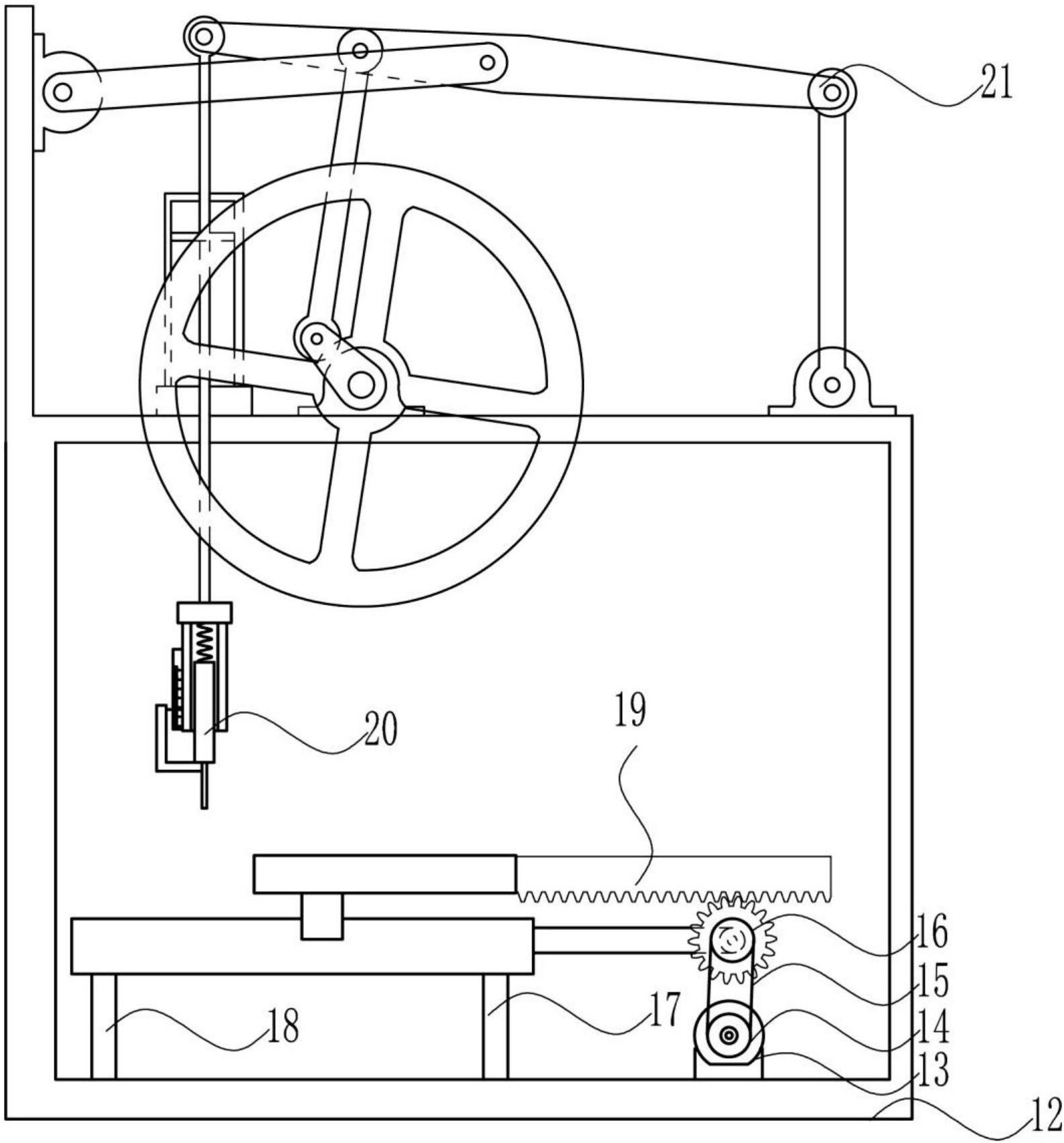
本发明涉及一种检测装置,尤其涉及一种机工制造用钢材硬度检测装置。本发明要解决的技术问题是提供一种能够节省人工劳动力、节省检测时间,增强检测质量的机工制造用钢材硬度检测装置。本发明提供了这样一种机工制造用钢材硬度检测装置,包括有固定架、第二电机、第一皮带轮、连接皮带、第二皮带轮、第一支撑杆、第二支撑杆、移动装置、检测装置和升降装置,固定架内下部从左到右依次安装有第一支撑杆等;第二电机输出轴上安装有第一皮带轮。本发明达到了能够节省人工劳动力、节省检测时间,增强检测质量的效果,使用本设备可以快速完成大量钢材硬度的检测,检测钢材硬度准确可靠,提高机工制造的精确程度,提高制造成品的质量,提高经济效益。


