授权公布号:CN219142459U
一种车把疲劳试验机
有效
申请
2022-09-26
申请公布
1970-01-01
授权
2023-06-06
预估到期
2032-09-26
| 申请号 | CN202222546245.7 |
| 申请日 | 2022-09-26 |
| 授权公布号 | CN219142459U |
| 授权公告日 | 2023-06-06 |
| 分类号 | G01N3/04;G01N3/02;G01N3/32;G01M17/007 |
| 分类 | 测量;测试; |
| 申请人名称 | 东莞市力雄仪器有限公司 |
| 申请人地址 | 广东省东莞市塘厦镇莲湖东四横路3号3号楼101室 |
专利法律状态
2023-06-06
授权
状态信息
授权
摘要
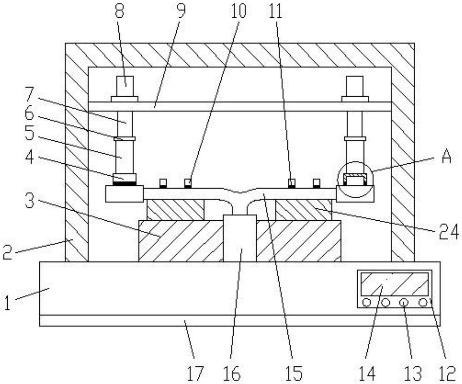
本实用新型公开了一种车把疲劳试验机,包括工作台,工作台上设有试验箱,试验箱内设有固定座,固定座中央设有立管夹具,固定座上设有对称分布的装夹组件;装夹组件包括装夹台,装夹台上设有对称分布的夹紧机构,装夹台顶部设有凹槽,装夹台一侧设有对称分布的紧固螺栓,夹紧机构包括固定件,固定件一端滑动连接有内杆,内杆底部固定连接有底板。通过设置立管夹具,将车把的立管进行固定,通过设置装夹组件,将车把的横杆放置于凹槽中,通过调节固定件的高度将横杆固定于固定件内部,并通过紧固螺栓拧紧将固定件锁紧,进而实现对横杆的固定,从而实现对车把固定,避免在试验时出现不稳定的现象。


