授权公布号:CN210775173U
胶带粘性强度测试机
有效
申请
2019-09-19
申请公布
1970-01-01
授权
2020-06-16
预估到期
2029-09-19
| 申请号 | CN201921562885.9 |
| 申请日 | 2019-09-19 |
| 授权公布号 | CN210775173U |
| 授权公告日 | 2020-06-16 |
| 分类号 | G01N19/04 |
| 分类 | 测量;测试; |
| 申请人名称 | 东莞市力雄仪器有限公司 |
| 申请人地址 | 广东省东莞市塘厦镇莲湖塘莲二街2号一楼A |
专利法律状态
2020-06-16
授权
状态信息
授权
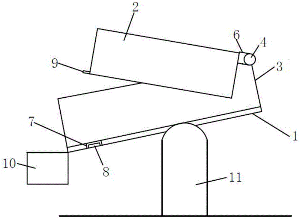
摘要
本实用新型公开了胶带粘性强度测试机,包括台阶面、移动板块以及竖立设置在台阶面一侧的支撑架,支撑架的一端上设置有测量杆,移动板块的一端与测量杆活动连接,台阶面的另一侧设置有固定板,固定板与移动板块平行方向设置。胶带的一侧边靠近于固定板并贴合在台阶面上,接着将移动板块通过套筒沿着测量杆上移动,将移动板块移动至胶带另一侧边的合适位置,将移动板块调节好位置好,接着将套筒绕着测量杆上向台阶面上进行转动时,直到移动板块靠近凹腔的一端置于凹腔内,以使固定板与移动板块之间形成一限定侧区。测试钢球从胶带上通过固定板与移动板块之间形成的限定侧区上完整滑动,而不会脱离到胶带的另一侧,从而达到良好的测试效果。


