授权公布号:CN219252638U
一种沙尘试验箱
有效
申请
2022-09-26
申请公布
1970-01-01
授权
2023-06-27
预估到期
2032-09-26
| 申请号 | CN202222546833.0 |
| 申请日 | 2022-09-26 |
| 授权公布号 | CN219252638U |
| 授权公告日 | 2023-06-27 |
| 分类号 | B01L1/02;G01N15/06 |
| 分类 | 一般的物理或化学的方法或装置; |
| 申请人名称 | 东莞市力雄仪器有限公司 |
| 申请人地址 | 广东省东莞市塘厦镇莲湖东四横路3号3号楼101室 |
专利法律状态
2023-06-27
授权
状态信息
授权
摘要
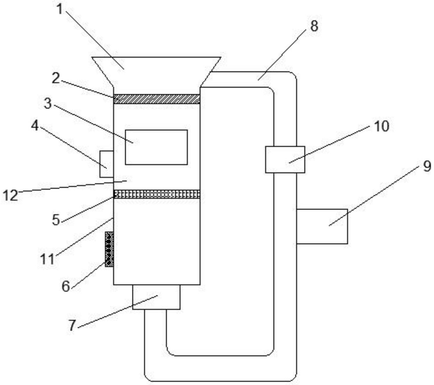
本实用新型公开了一种沙尘试验箱,包括循环进料管、进风口、测试箱体及箱体,所述进风口内设有过滤网,所述箱体中间设有可观镜,所述箱体一侧设有控制器,所述箱体底部设有载物架,所述载物架底部设有测试箱体,所述测试箱体一侧设有沙尘浓度传感器,所述循环进料管一侧设有进料口,该沙尘试验箱结构简单,使用方便、占地面积小、移动作业效果好、模拟试验稳定性强、可自动调节沙尘进料大小、极大地提高了沙尘注入精度。


