授权公布号:CN117405011B
便捷式转角监测装置
有效
申请
2023-11-02
申请公布
2024-01-16
授权
2024-02-23
预估到期
2043-11-02
| 申请号 | CN202311446732.9 |
| 申请日 | 2023-11-02 |
| 申请公布号 | CN117405011A |
| 申请公布日 | 2024-01-16 |
| 授权公布号 | CN117405011B |
| 授权公告日 | 2024-02-23 |
| 分类号 | G01B7/30;G01M13/04 |
| 分类 | 测量;测试; |
| 申请人名称 | 山东中科普锐检测技术有限公司 |
| 申请人地址 | 山东省潍坊市高新区银枫路66号光电产业园第三加速器5座 |
专利法律状态
2024-02-23
授权
状态信息
授权
2024-02-02
实质审查的生效
状态信息
实质审查的生效;IPC(主分类):G01B7/30;申请日:20231102
2024-01-16
公布
状态信息
公布
摘要
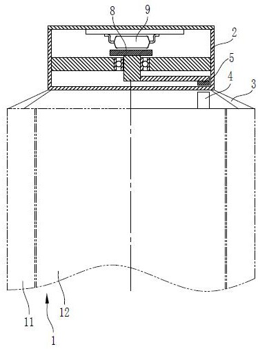
本发明公开了一种便捷式转角监测装置,包括封装外壳、外壳安装件、驱动磁极以及封装于所述封装外壳内的被动磁极、转轴、连杆、感应磁极和磁性角度传感器芯片,驱动磁极固定安装于待监测旋转设备的转动体上,外壳安装件固定设置于封装外壳上,用于与待监测旋转设备的固定外壳固定连接。本发明利用驱动磁极和被动磁极的磁力耦合,当测量点产生轴向、径向跳动或安装不同心时,被动磁极和驱动磁极之间是磁耦合的软连接,在轴承限位作用下感应磁极会保持原位置不动,从而使测量精准,测量过程不会受到测量点跳动或安装精度的影响,降低了安装点对安装精度的要求,并能适应大范围内的跳动。在测量时,只需安装驱动磁极和固定封装外壳,安装快捷方便。


