授权公布号:CN205924499U
自动下丹装置
有效
申请
2016-06-24
申请公布
1970-01-01
授权
2017-02-08
预估到期
2026-06-24
| 申请号 | CN201620633472.5 |
| 申请日 | 2016-06-24 |
| 授权公布号 | CN205924499U |
| 授权公告日 | 2017-02-08 |
| 分类号 | A61J3/04 |
| 分类 | 医学或兽医学;卫生学; |
| 申请人名称 | 安徽安科余良卿药业有限公司 |
| 申请人地址 | 安徽省安庆市迎宾路333号 |
专利法律状态
2017-02-08
授权
状态信息
授权
摘要
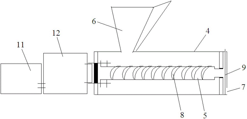
本实用新型公开了一种自动下丹装置,包括有分别设置于膏药搅拌锅上方的下料斗和下丹流量控制装置,下料斗的上端口安装有上护罩,下料斗的下端口安装有电动阀,下丹流量控制装置包括有壳体、转动安装在壳体内的转轴和安装在壳体一侧的与转轴传动连接的驱动机构,壳体顶部和底部的一侧分别设有进、出料口,转轴的外部分别固定连接有倾斜设置的多个环形导板;进料口与下料斗的下端口相对应,出料口与膏药搅拌锅的进丹口相对应,且其中安装有活动闸板。本实用新型结构简单,实现了自动下丹,且下丹的流量可进行控制,无需依靠人工下丹,既保证了员工的身心健康,又改善了工作环境。


