授权公布号:CN214621559U
一种摩擦工装测试装置
有效
申请
2021-04-23
申请公布
1970-01-01
授权
2021-11-05
预估到期
2031-04-23
| 申请号 | CN202120838374.6 |
| 申请日 | 2021-04-23 |
| 授权公布号 | CN214621559U |
| 授权公告日 | 2021-11-05 |
| 分类号 | G01L5/00 |
| 分类 | 测量;测试; |
| 申请人名称 | 珠海市三思泰捷电气设备有限公司 |
| 申请人地址 | 广东省珠海市香洲区华宇路601号3栋(厂房三)1层 |
专利法律状态
2021-11-05
授权
状态信息
授权
摘要
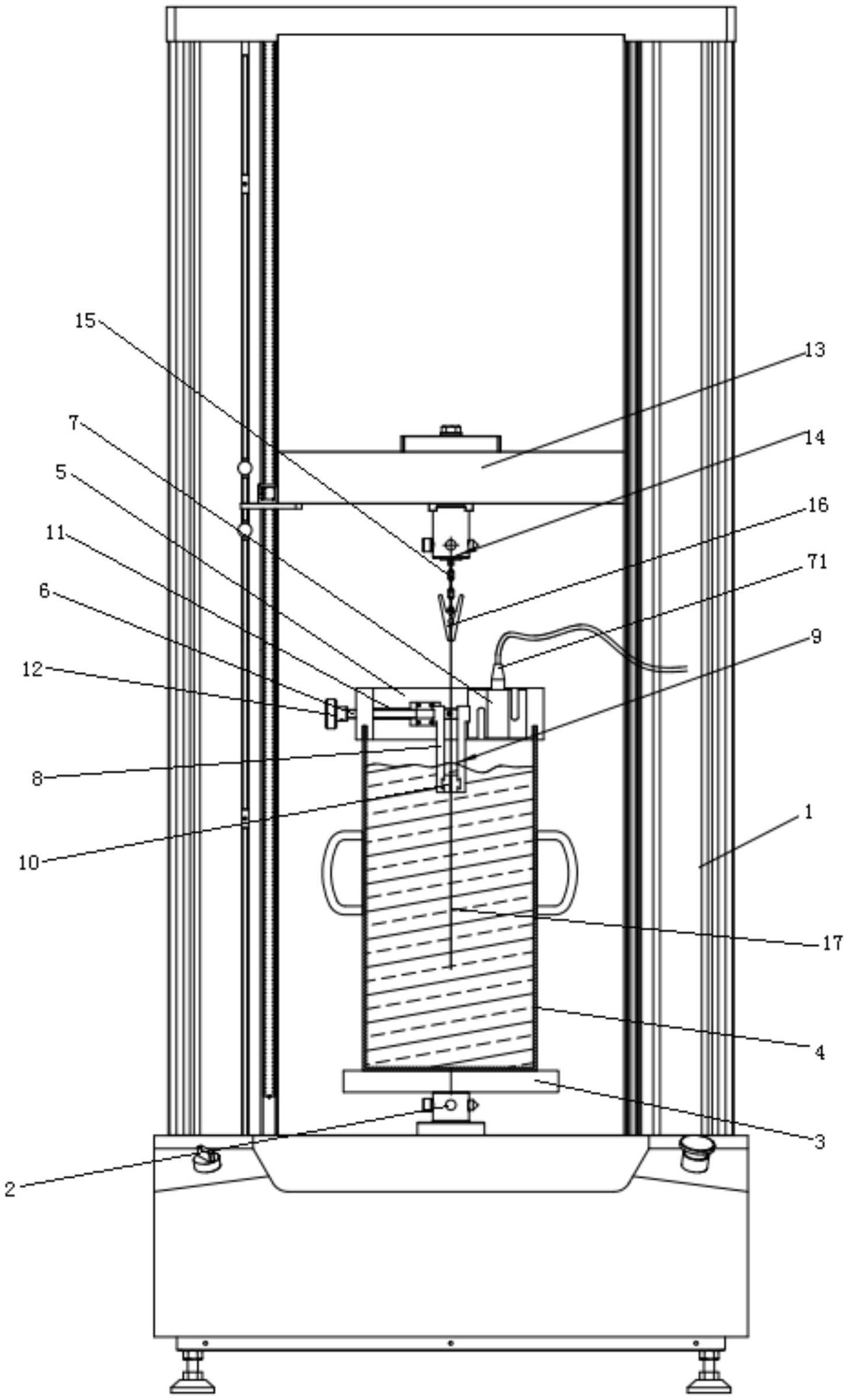
本实用新型公开了一种摩擦工装测试装置,涉及摩擦测试技术领域,包括主机,所述主机内部的底部固定连接有下接头,所述下接头的顶部固定连接有托盘,所述托盘的顶部设置有介质容器,所述介质容器的顶部套设有夹具体。本实用通过设置夹具体、螺杆、夹具传感器、滑动臂、测力臂和两个摩擦块起到了满足通血管毛细丝摩擦需要在液体介质中进行测试的要求的作用,在液体介质中测量通血管用毛细丝摩擦力,测试结果精确,减小误差,还通过设置上接头、锁子链和鳄鱼夹起到了方便夹装的作用,使用简单的鳄鱼夹夹持试样顶端即可夹装完成,结构简单,操作方便,实用及通用性强,容易实现产业化生产,产生良好的经济效益。


