授权公布号:CN214794240U
一种电子式线材扭力扭转试验机
有效
申请
2021-04-16
申请公布
1970-01-01
授权
2021-11-19
预估到期
2031-04-16
| 申请号 | CN202120774633.3 |
| 申请日 | 2021-04-16 |
| 授权公布号 | CN214794240U |
| 授权公告日 | 2021-11-19 |
| 分类号 | G01N3/22 |
| 分类 | 测量;测试; |
| 申请人名称 | 珠海市三思泰捷电气设备有限公司 |
| 申请人地址 | 广东省珠海市香洲区华宇路601号3栋(厂房三)1层 |
专利法律状态
2021-11-19
授权
状态信息
授权
摘要
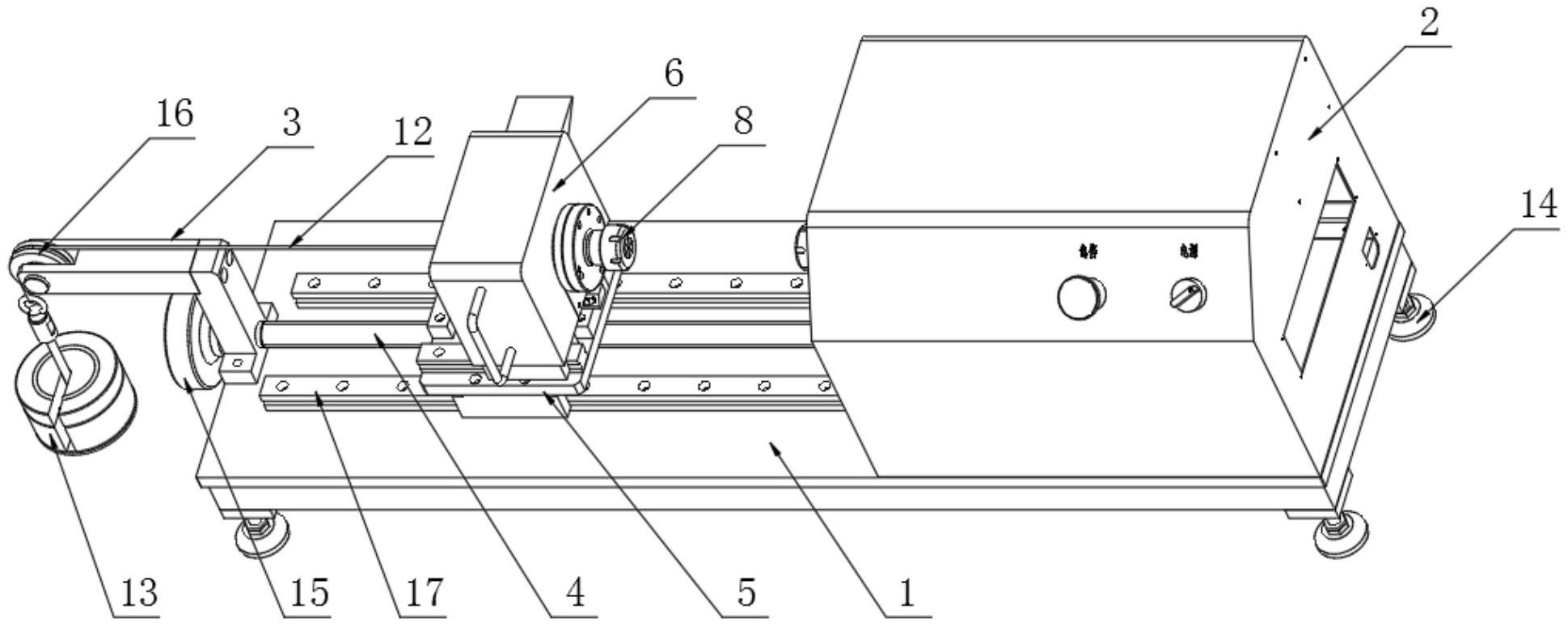
本实用新型公开了一种电子式线材扭力扭转试验机,涉及线材测试技术领域,包括、机架、试验主机、砝码支架、调整丝杆、活动底板、传感器安装座、扭矩传感器、第一筒夹法兰盘、第二筒夹法兰盘、行星减速机、伺服电机、砝码吊绳和砝码。本实用新型中可实现对不同长度的线材进行试验处理,可实现对线材的扭转试验处理,在线材的固定端增加扭矩传感器来测扭力,采用法兰底座式扭矩传感器,安装在固定端的活动传感器座上,连接第一筒夹法兰盘,并保证与第二筒夹法兰盘同心,达到测扭力扭转的效果,增加扭矩传感器,让试验机达到既可做线材扭转试验,又能做电子扭转试验。


