授权公布号:CN218444870U
纸管抗压强度试验机
有效
申请
2022-10-22
申请公布
1970-01-01
授权
2023-02-03
预估到期
2032-10-22
| 申请号 | CN202222785091.7 |
| 申请日 | 2022-10-22 |
| 授权公布号 | CN218444870U |
| 授权公告日 | 2023-02-03 |
| 分类号 | G01N3/08;G01N3/06 |
| 分类 | 测量;测试; |
| 申请人名称 | 广东艾斯瑞仪器科技有限公司 |
| 申请人地址 | 广东省东莞市道滘镇永庆村永庆工业三区建业路3号 |
专利法律状态
2023-02-03
授权
状态信息
授权
摘要
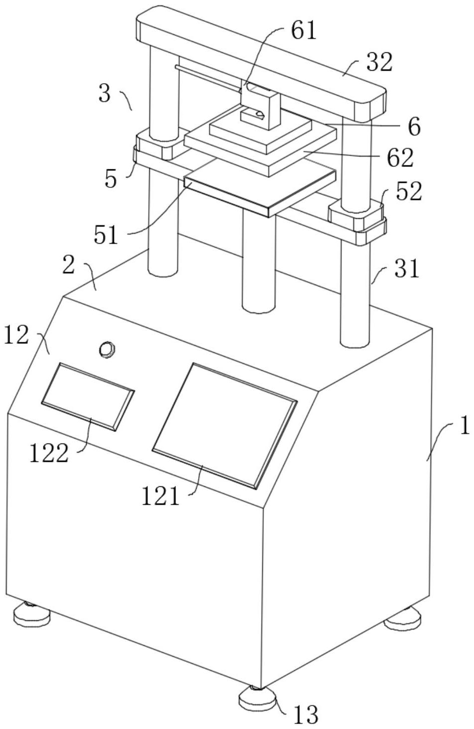
本实用新型涉及测试设备技术领域,具体涉及一种纸管抗压强度试验机,包括机架,工作台,升降导向元件,升降驱动装置,升降滑动元件,以及测试感应装置,机架内设有安置腔,机架的前端设有操作台;升降导向元件包括安装在工作台两侧的两根升降导杆、以及架设于两根升降导杆之间的测试顶板;升降驱动装置安装在安置腔内;升降滑动元件上安装有测试台;测试感应装置包括安装在测试顶板的压力传感器、以及安装在压力传感器上的测试压板。本实用新型解决了现有抗压测试设备结构笨重以及复杂的问题,采用内置驱动结构结合顶升方式的纸管抗压测试,测试方便,耐用性好,结构简单,占地面积小,实用性强。


