授权公布号:CN117249932B
一种具有自动对位功能的拔插力试验机
有效
申请
2023-09-18
申请公布
2023-12-19
授权
2024-03-19
预估到期
2043-09-18
| 申请号 | CN202311206858.9 |
| 申请日 | 2023-09-18 |
| 申请公布号 | CN117249932A |
| 申请公布日 | 2023-12-19 |
| 授权公布号 | CN117249932B |
| 授权公告日 | 2024-03-19 |
| 分类号 | G01L5/00;G01M13/00 |
| 分类 | 测量;测试; |
| 申请人名称 | 广东艾斯瑞仪器科技有限公司 |
| 申请人地址 | 广东省东莞市道滘镇永庆村永庆工业三区建业路3号 |
专利法律状态
2024-03-19
授权
状态信息
授权
2024-01-05
实质审查的生效
状态信息
实质审查的生效;IPC(主分类):G01L5/00;申请日:20230918
2023-12-19
公布
状态信息
公布
摘要
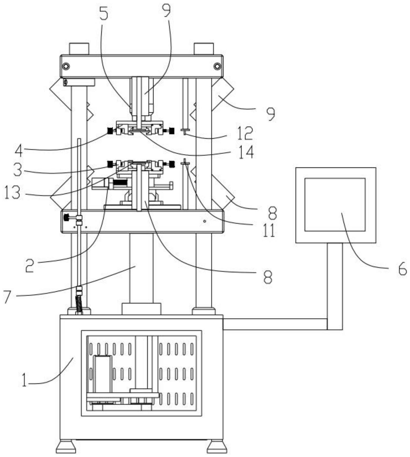
本发明涉及试验设备技术领域,尤其是指一种具有自动对位功能的拔插力试验机,其通过第一夹持机构和第二夹持机构分别夹持第一待测物和第二待测物;多个第一相机拍摄第二待测物的位置和姿态并传输至主控器;多个第二相机拍摄第一待测物的位置和姿态并传输至主控器;主控器根据第一待测物与第二待测物的相对位置和姿态,控制第一夹持机构水平转动以及水平移动,直至第一待测物与第二待测物对准;主控器通过升降机构驱动第二待测物升降以执行拔插试验。本发明通过视觉装置获取第一待测物与第二待测物的相对位置以及姿态,随后即可通过平移机构与转动机构配合调整第一待测物的位置以及姿态,使得第一待测物与第二待测物自动对准,提升了试验效率。


