授权公布号:CN212722810U
一种高效使用的TOC总有机碳分析仪
有效
申请
2020-08-17
申请公布
1970-01-01
授权
2021-03-16
预估到期
2030-08-17
| 申请号 | CN202021711450.9 |
| 申请日 | 2020-08-17 |
| 授权公布号 | CN212722810U |
| 授权公告日 | 2021-03-16 |
| 分类号 | G01N33/00;B08B9/023 |
| 分类 | 测量;测试; |
| 申请人名称 | 北京北广精仪仪器设备有限公司 |
| 申请人地址 | 北京市海淀区上地十街1号院6号楼3层306 |
专利法律状态
2021-03-16
授权
状态信息
授权
摘要
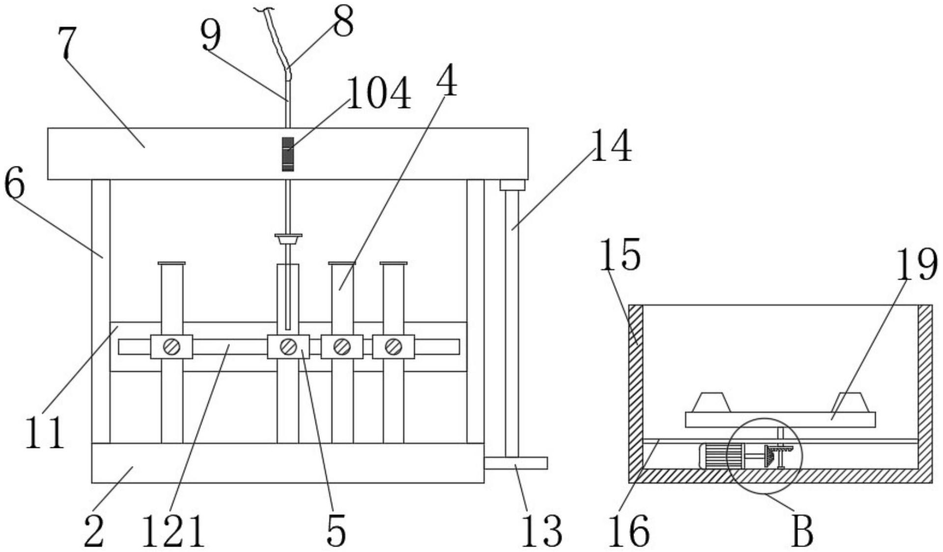
本实用新型涉及分析仪技术领域,且公开了一种高效使用的TOC总有机碳分析仪,包括机箱,所述机箱的右侧放置有底座,所述底座的顶部开设有凹槽,所述凹槽的上方设置有若干试管,所述试管的表面套设有套管。本实用新型通过套管、夹紧结构、导向结构、第一旋转杆、清洗盒、旋转结构和旋转盘的设置,使得该装置具备方便对试管的位置进行移动,提高检测效率,而且可以增加清洗吸管时的洁净度,提高检测准确性的优点,解决了现有的分析仪进行检测时,不方便对试管的位置进行移动,导致工作效率较低,而且在清洗吸管时不够彻底,吸管表面容易残留有溶液,可能造成不同溶液混合造成检测数据不准确的问题。


