授权公布号:CN208488330U
一种电缆线拉伸装置
有效
申请
2018-07-03
申请公布
1970-01-01
授权
2019-02-12
预估到期
2028-07-03
| 申请号 | CN201821045749.8 |
| 申请日 | 2018-07-03 |
| 授权公布号 | CN208488330U |
| 授权公告日 | 2019-02-12 |
| 分类号 | G01N3/08;G01N3/04 |
| 分类 | 测量;测试; |
| 申请人名称 | 浙江创远新材有限公司 |
| 申请人地址 | 浙江省杭州市临安市玲珑街道玲珑村(工业聚集区) |
专利法律状态
2019-02-12
授权
状态信息
授权
摘要
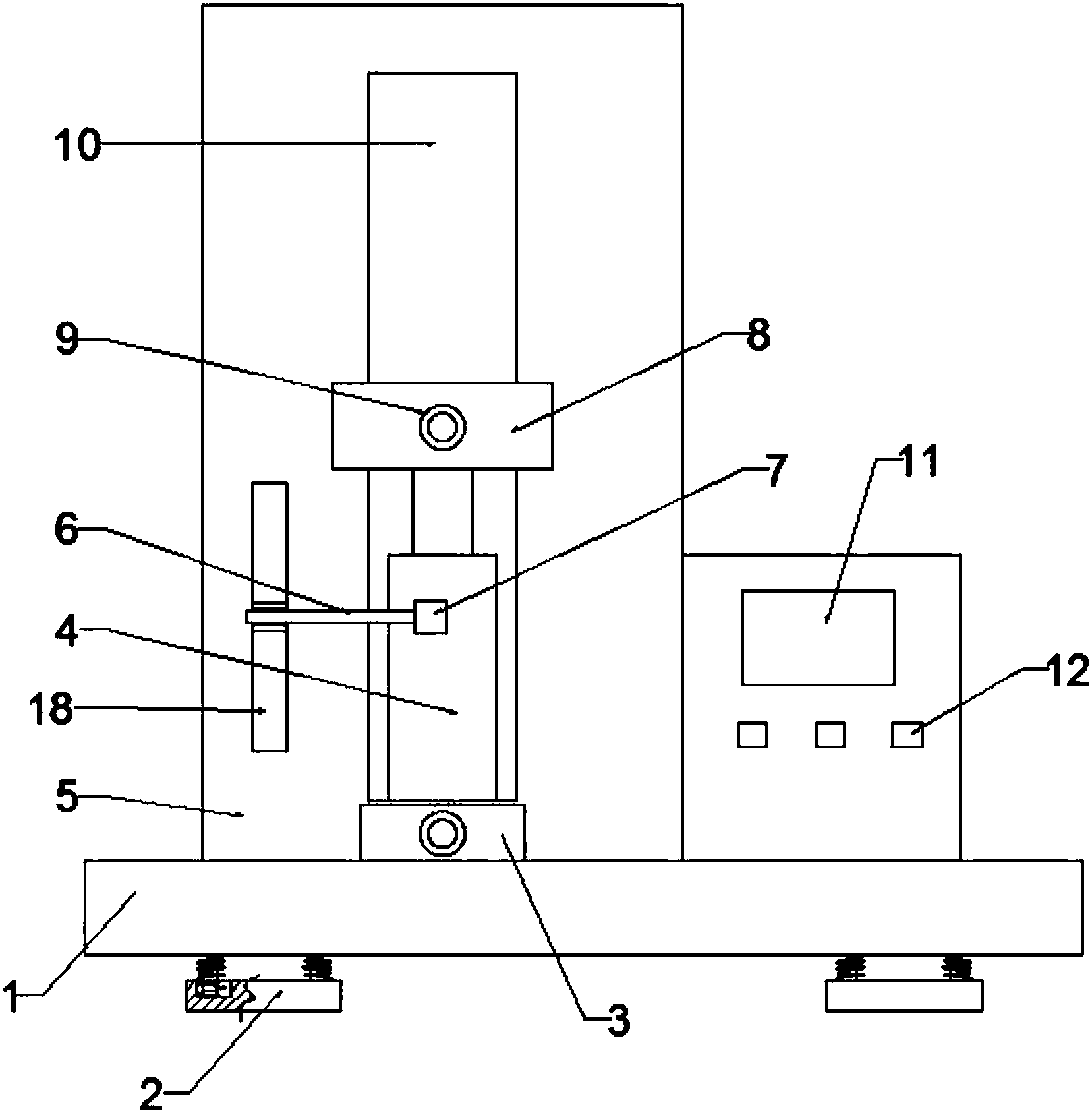
本实用新型公开了电线拉伸测试设备技术领域的一种电缆线拉伸装置,包括底板,底板底部有减震装置,减震装置包括限位杆、第一直槽、支撑板和减震弹簧,支撑板上有第一直槽,第一直槽底部连接有减震弹簧和限位杆,底板顶部后侧上连接有背板,背板底部连接有下固定块,背板在下固定块上方开设有滑槽,滑槽底部固定连接有气缸,气缸的输出端固定连接有T形块,T形块固定连接有上固定块,上固定块和下固定块上均焊接有螺栓,螺栓上开设有通孔,螺栓在通孔的右侧开设有螺旋状的电缆摆放凹槽,螺栓螺纹连接有套管,背板连接有第二横杆,第二横杆另一端转动连接有第一横杆,第一横杆另一端固定安装有压力感应器,本实用新型操作简单,同时方便后期维修。


