授权公布号:CN216664863U
一种耐磨损的踢脚线
有效
申请
2021-10-21
申请公布
1970-01-01
授权
2022-06-03
预估到期
2031-10-21
| 申请号 | CN202122558311.8 |
| 申请日 | 2021-10-21 |
| 授权公布号 | CN216664863U |
| 授权公告日 | 2022-06-03 |
| 分类号 | E04F19/04 |
| 分类 | 建筑物; |
| 申请人名称 | 广东创璟新材料科技有限公司 |
| 申请人地址 | 广东省佛山市南海区丹灶镇下滘工业区明沙南路3号 |
专利法律状态
2022-06-03
授权
状态信息
授权
摘要
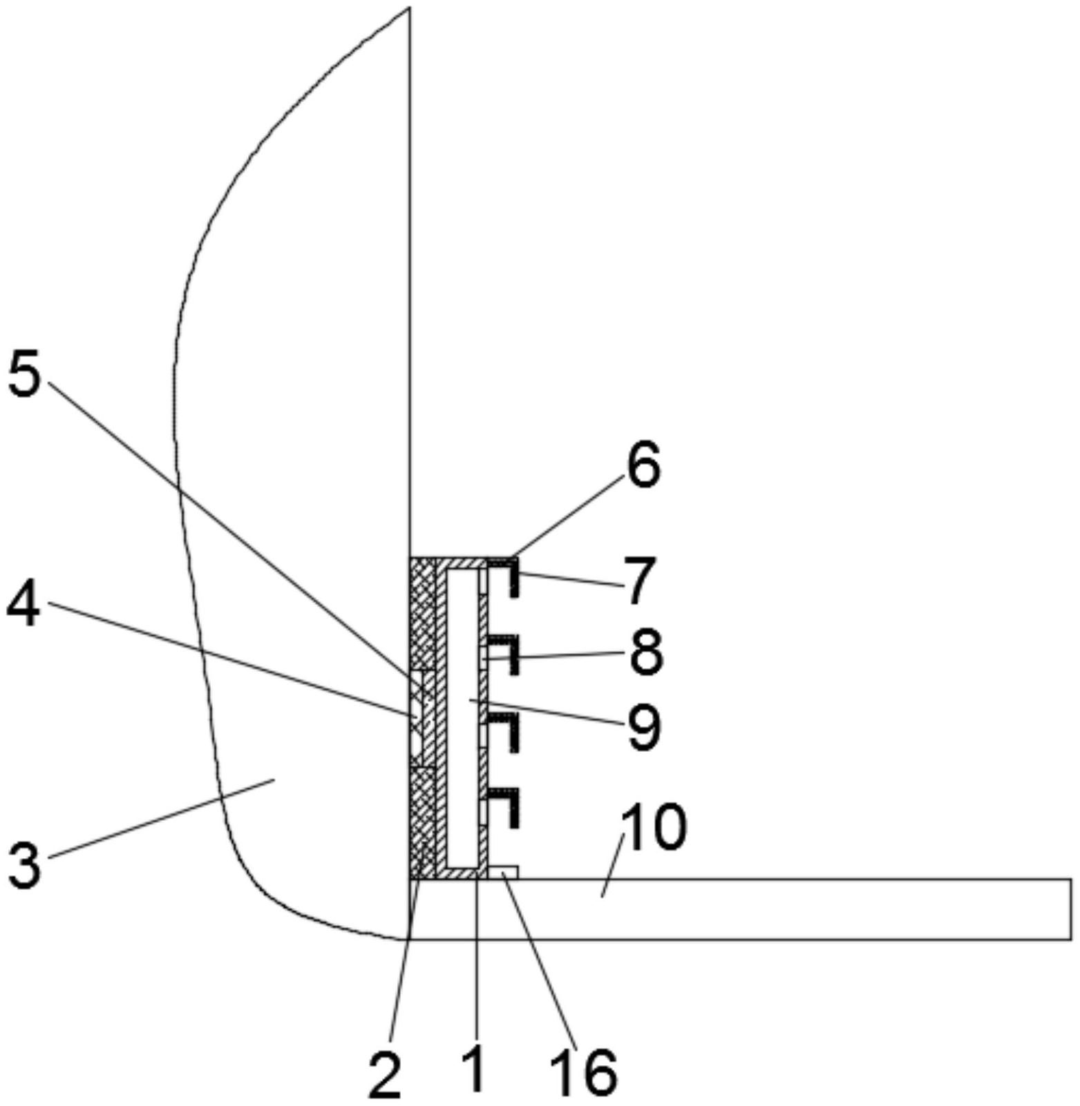
本实用新型公开了一种耐磨损的踢脚线,包括踢脚线本体,所述踢脚线本体为长方体结构,踢脚线本体的内部开有中心槽,踢脚线本体的后侧面固定连接有橡胶垫,橡胶垫的中心开有安装槽,踢脚线本体的后侧面位于安装槽的位置固定连接有铁片,铁片与磁铁吸合在一起,磁铁固定连接在墙体上,橡胶垫与墙体活动连接;踢脚线本体的前侧面等距开有四条平行的暖通槽,暖通槽与中心槽相连通,踢脚线本体前侧面位于暖通槽的上方位置分别设置有直角防护板,直角防护板的一端与踢脚线本体的前侧面通过螺钉相连接。


