授权公布号:CN214885182U
一种埋线式PVC踢脚线安装结构
有效
申请
2021-01-27
申请公布
1970-01-01
授权
2021-11-26
预估到期
2031-01-27
| 申请号 | CN202120220599.5 |
| 申请日 | 2021-01-27 |
| 授权公布号 | CN214885182U |
| 授权公告日 | 2021-11-26 |
| 分类号 | E04F19/04 |
| 分类 | 建筑物; |
| 申请人名称 | 广东创璟新材料科技有限公司 |
| 申请人地址 | 广东省佛山市南海区丹灶镇下滘工业区明沙南路3号 |
专利法律状态
2021-11-26
授权
状态信息
授权
摘要
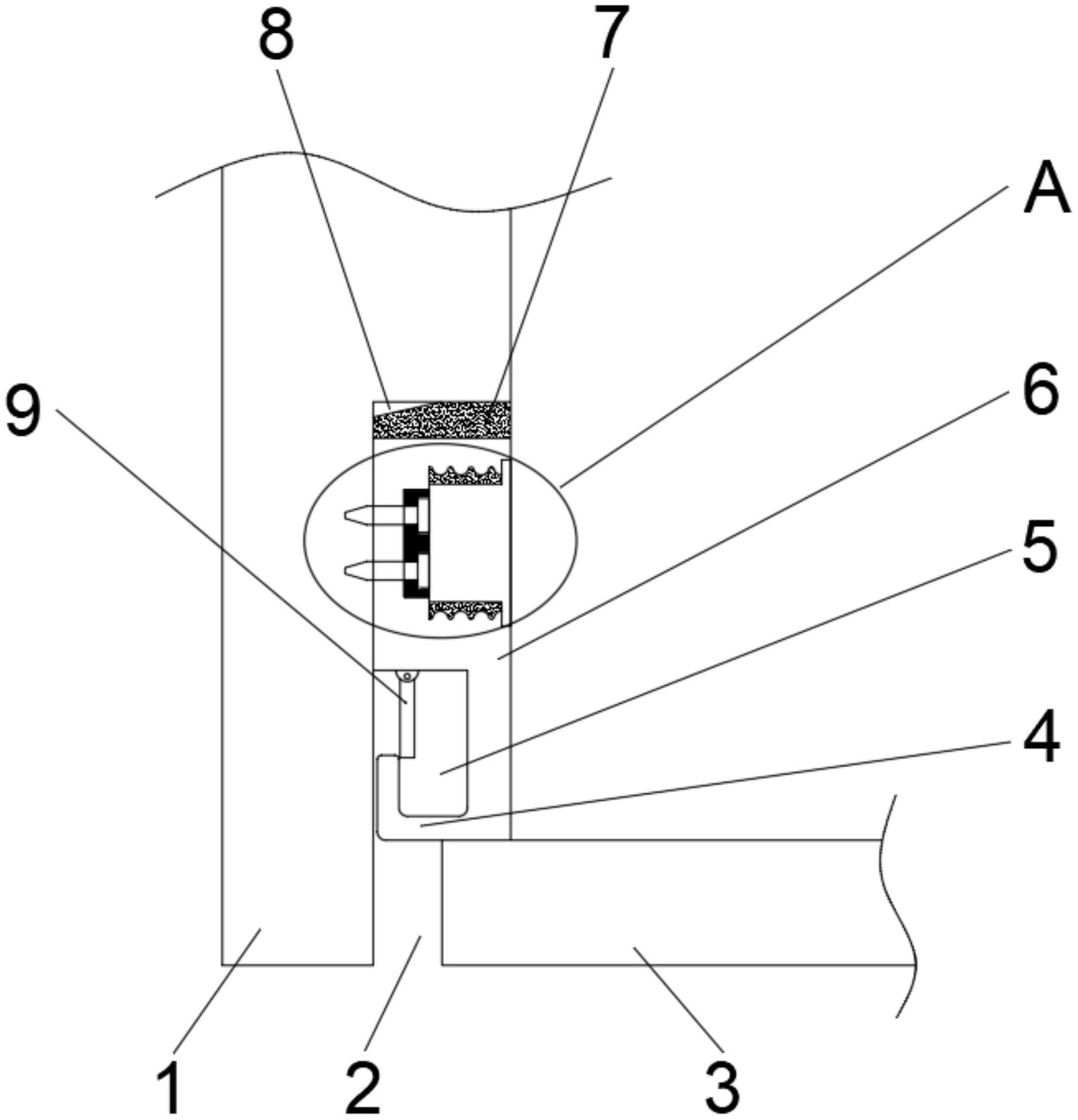
本实用新型公开了一种埋线式PVC踢脚线安装结构,涉及家庭装修技术领域,具体包括墙体、地板和踢脚线,所述墙体的底部开设有安装槽,地板的端部位于安装槽的底部且地板与墙体之间形成伸缩缝,安装槽的内部安装有踢脚线,踢脚线的底面与地板的顶面相互接触,踢脚线的底端朝向墙体的一侧开设有卡线槽,卡线槽的内部固定安装有L形的卡线板,卡线板与踢脚线一体成型,踢脚线的顶面通过胶水固定有密封条,踢脚线的顶面与安装槽的顶面之间形成装配槽。本实用新型通过踢脚线的表面与墙体表面平齐的设计,能够有效避免踢脚线上堆积灰尘,从而降低了房间的打扫难度。


