授权公布号:CN217977857U
一种便于管路安装的分体法兰盘结构
有效
申请
2022-08-19
申请公布
1970-01-01
授权
2022-12-06
预估到期
2032-08-19
| 申请号 | CN202222188053.3 |
| 申请日 | 2022-08-19 |
| 授权公布号 | CN217977857U |
| 授权公告日 | 2022-12-06 |
| 分类号 | F16L23/024;F16L23/032 |
| 分类 | 工程元件或部件;为产生和保持机器或设备的有效运行的一般措施;一般绝热; |
| 申请人名称 | 安丘博阳机械制造有限公司 |
| 申请人地址 | 山东省潍坊市安丘市石堆镇东城工业园(宿家埠村) |
专利法律状态
2022-12-06
授权
状态信息
授权
摘要
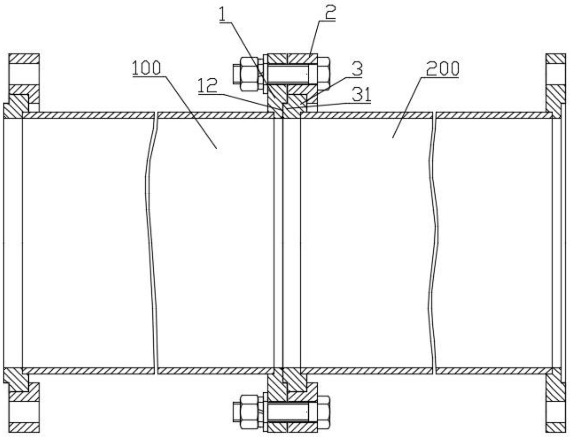
本实用新型适用于连接法兰领域,提供了一种便于管路安装的分体法兰盘结构,其特征在于,包括与第一管道固接的固定法兰盘、与第二管道进行固接的配合盘及起到连接作用的活动连接盘;所述活动连接盘的内缘设有与配合盘进行配合的嵌入槽,该嵌入槽的槽深与配合盘的厚度对应;所述活动连接盘与固定法兰盘上对应设有用于插入紧固螺栓的多个通孔。借此,本实用新型采用三体式结构,将其中设有通孔的法兰盘设为活动式结构,消除了法兰盘之间的通孔对应困难的问题。


