授权公布号:CN209371537U
一种燃气锅炉
有效
申请
2018-12-28
申请公布
1970-01-01
授权
2019-09-10
预估到期
2028-12-28
| 申请号 | CN201822233345.8 |
| 申请日 | 2018-12-28 |
| 授权公布号 | CN209371537U |
| 授权公告日 | 2019-09-10 |
| 分类号 | F24H9/20;F24H9/18;F24H1/22 |
| 分类 | 供热;炉灶;通风; |
| 申请人名称 | 广州清漫餐饮文化发展有限公司 |
| 申请人地址 | 广东省广州市番禺区市桥街东环路迎富街60号整栋B104 |
专利法律状态
2019-09-10
授权
状态信息
授权
摘要
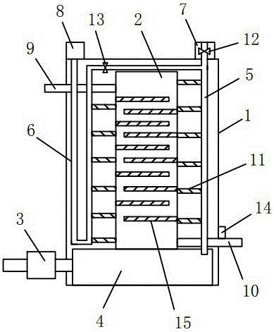
本实用新型具体公开了一种燃气锅炉,包括外炉、燃烧器和燃烧室;所述的燃烧室设置于外炉的底部,所述燃烧器设置于外炉的外侧且与燃烧室通过管道连接,还包括内炉;所述内炉设置于外炉的内部且固定于燃烧室的顶部;所述燃烧室远离燃烧器一端设有第一烟管;所述燃烧室靠近燃烧器一端设有第二烟管;所述第一烟管与内炉之间以及第二烟管与内炉之间均设有导热板;所述内炉内部交错设置有散热片;所述外炉顶部设有第一排烟口和第二排烟口;所述外炉侧壁连接有进水管和出水管;所述进水管和出水管分别与内炉贯通连接。本实用新型通过增加散热片和导热板能有效提高热量的利用率。


