授权公布号:CN218019154U
一种用于PC构件的制作模具
有效
申请
2022-05-10
申请公布
1970-01-01
授权
2022-12-13
预估到期
2032-05-10
| 申请号 | CN202221109915.2 |
| 申请日 | 2022-05-10 |
| 授权公布号 | CN218019154U |
| 授权公告日 | 2022-12-13 |
| 分类号 | B28B7/00 |
| 分类 | 加工水泥、黏土或石料; |
| 申请人名称 | 江苏迪迈新材料有限公司 |
| 申请人地址 | 江苏省常州市金坛区兴明路26号 |
专利法律状态
2022-12-13
授权
状态信息
授权
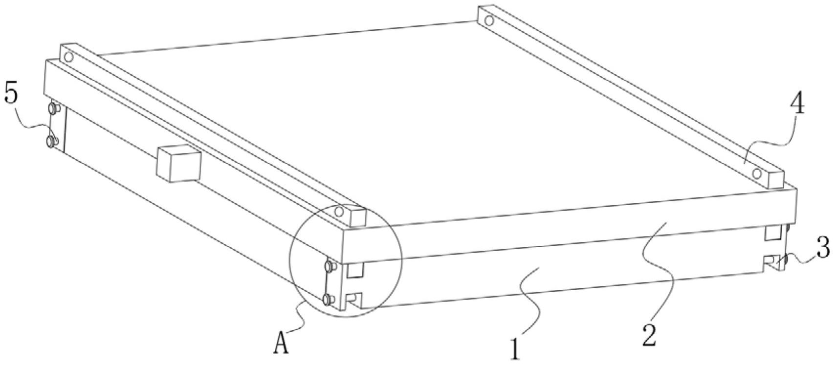
摘要
本实用新型提供一种用于PC构件的制作模具,包括模具框架和模具盖板,所述模具框架顶部和底部的两侧开设有限位滑槽,所述模具盖板顶部与底部的两侧固定连接有限位套块,所述限位套块和限位滑槽相互适配,所述模具盖板的内腔均匀开设有三组安装槽,所述安装槽的内腔设置有振动机构。本实用新型提供的用于PC构件的制作模具通过启动模具盖板上的电机,可带动三组转动杆同步转动,然后使得偏心轮偏心转动产生振动力,对模具框架内混凝土进行振动,使得混凝土密实结合,从而消除混凝土成型的PC构件内的蜂窝麻面等现象,并提高PC构件的强度,保证PC构件的质量。


