授权公布号:CN218017604U
一种PC板边角打磨装置
有效
申请
2022-05-10
申请公布
1970-01-01
授权
2022-12-13
预估到期
2032-05-10
| 申请号 | CN202221110250.7 |
| 申请日 | 2022-05-10 |
| 授权公布号 | CN218017604U |
| 授权公告日 | 2022-12-13 |
| 分类号 | B24B9/20;B24B41/06;B24B27/02;B24B55/12;B24B47/12 |
| 分类 | 磨削;抛光; |
| 申请人名称 | 江苏迪迈新材料有限公司 |
| 申请人地址 | 江苏省常州市金坛区兴明路26号 |
专利法律状态
2022-12-13
授权
状态信息
授权
摘要
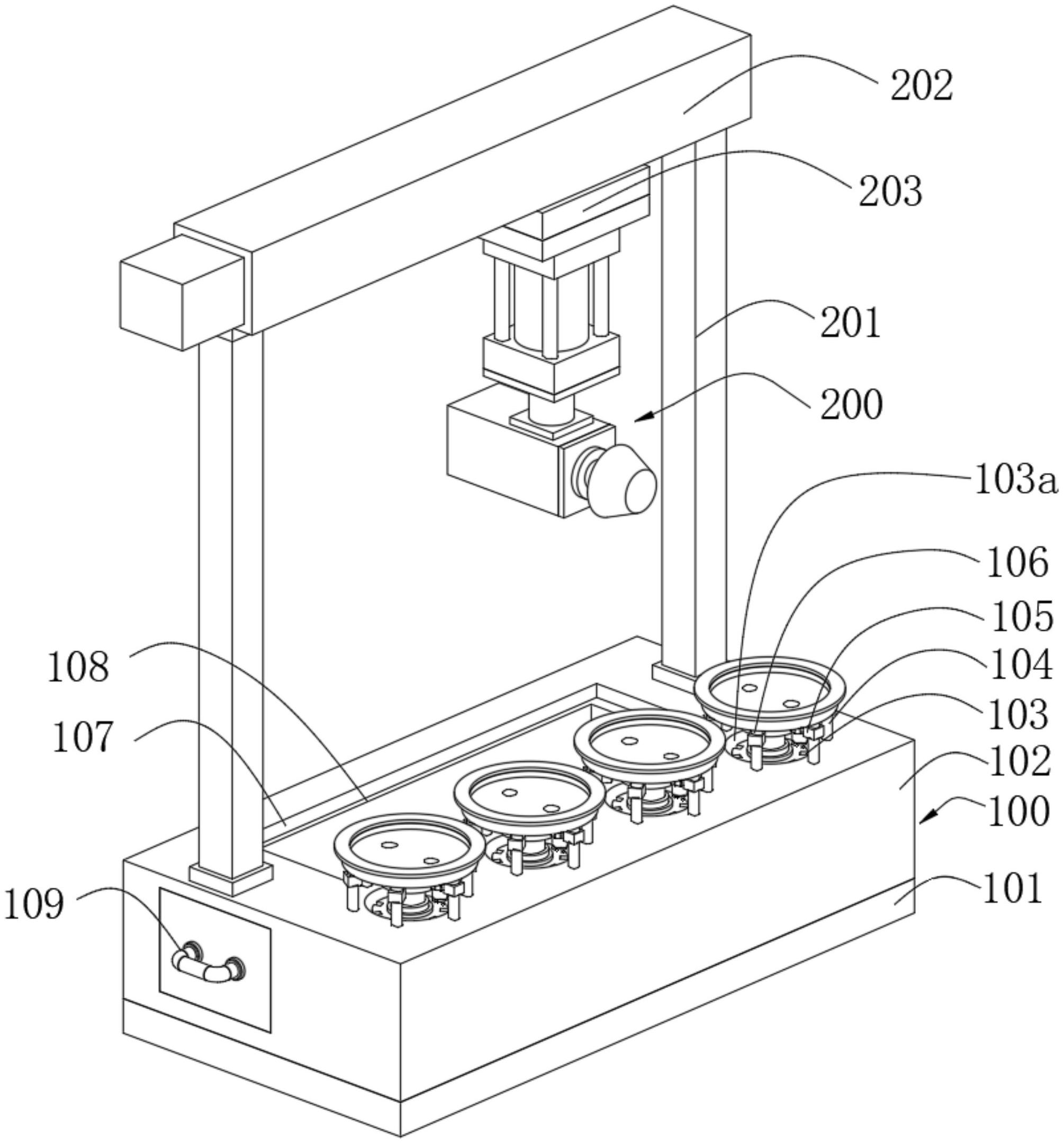
本实用公开了一种PC板边角打磨装置,包括主体机构,其包括底板,设置于所述底板顶部的工作板,设置于所述工作板顶部的转动组件,所述转动组件包括设置于所述工作板顶部的放置盘,在进行使用时,将pc板放在放置盘上,真空泵抽取充气槽内部的空气使得固定效果进一步提高,防止在进行后续打磨时发生移动,且放置盘顶部的密封垫,可防止在抽气时空气进入充气槽内部,直线滑轨底部的滑块带动液压气缸到制定位置后,液压气缸向下伸缩,第二减速电机带动打磨石对pc板进行打磨,且通过滑块在直线滑轨上进行移动,可一次性进行多个加工,提高加工效率满足实际使用所需。


