授权公布号:CN217168779U
一种塑料板材打孔设备
有效
申请
2022-04-19
申请公布
1970-01-01
授权
2022-08-12
预估到期
2032-04-19
| 申请号 | CN202220907347.4 |
| 申请日 | 2022-04-19 |
| 授权公布号 | CN217168779U |
| 授权公告日 | 2022-08-12 |
| 分类号 | B26F1/02;B26D7/02;B26D7/18 |
| 分类 | 手动切割工具;切割;切断; |
| 申请人名称 | 江苏迪迈新材料有限公司 |
| 申请人地址 | 江苏省常州市金坛区兴明路26号 |
专利法律状态
2022-08-12
授权
状态信息
授权
摘要
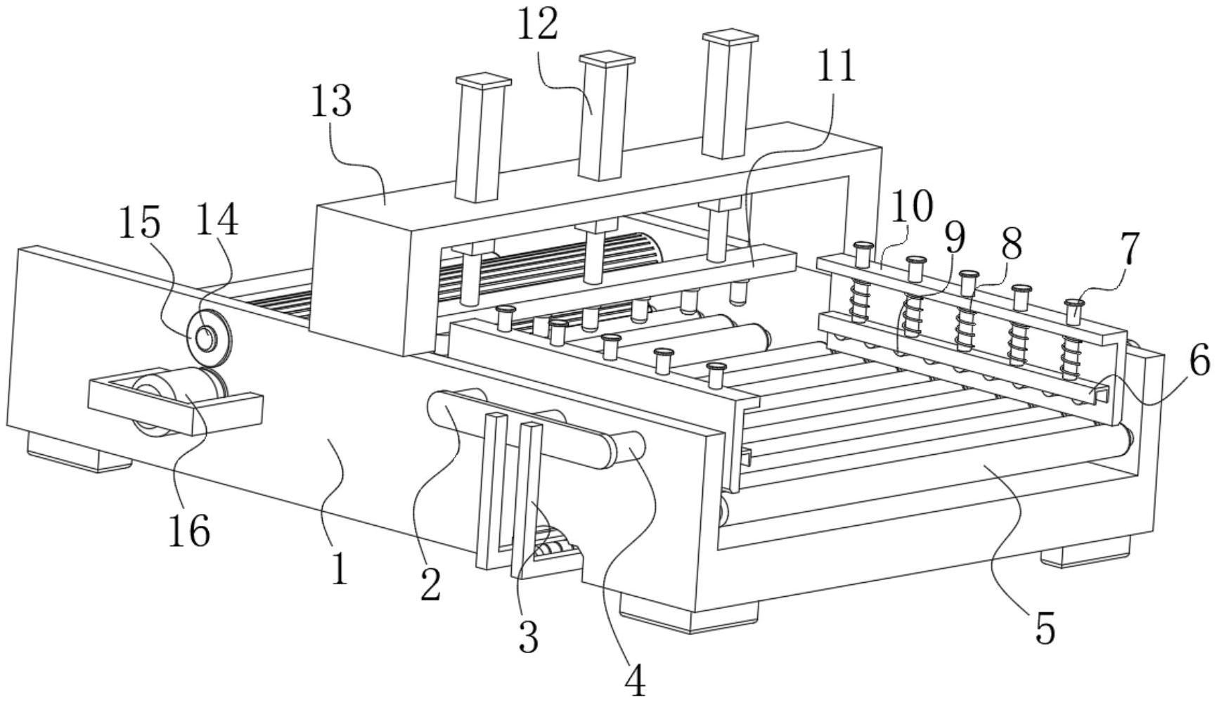
本实用新型提供一种塑料板材打孔设备,包括设备主体,所述设备主体内腔的两侧设置有多组移动滚筒,所述设备主体底部的一端开设有安装底槽,所述安装底槽内腔的两侧设置有双向螺纹杆,所述双向螺纹杆的外侧壁对称套设有内螺纹套块,两组所述内螺纹套块相互远离的一侧设置有两组L型连接杆。本实用新型提供的塑料板材打孔设备通过两组L型安装座相互靠近对移动滚筒上的塑料板材从两侧进行夹持固定,然后通过弹簧的弹力带动安装座下移,使得滚轮和塑料板材的顶部相互抵触,对塑料板材进行按压固定,从而可使得塑料板材被全方位的限位固定,有效避免了打孔时塑料板材发生偏移,从而提高该设备打孔的准确性和实用性。


