授权公布号:CN106869196B
用于锚板基础的螺杆顶升纠倾加固方法
有效
申请
2015-12-14
申请公布
2017-06-20
授权
2019-04-23
预估到期
2035-12-14
| 申请号 | CN201510929799.7 |
| 申请日 | 2015-12-14 |
| 申请公布号 | CN106869196A |
| 申请公布日 | 2017-06-20 |
| 授权公布号 | CN106869196B |
| 授权公告日 | 2019-04-23 |
| 分类号 | E02D35/00 |
| 分类 | 水利工程;基础;疏浚; |
| 申请人名称 | 中勘冶金勘察设计研究院有限责任公司 |
| 申请人地址 | 河北省保定市东风中路1285号 |
专利法律状态
2019-04-23
授权
状态信息
授权
2017-07-14
实质审查的生效
状态信息
实质审查的生效;IPC(主分类):E02D35/00;申请日:20151214
2017-06-20
公布
状态信息
公布
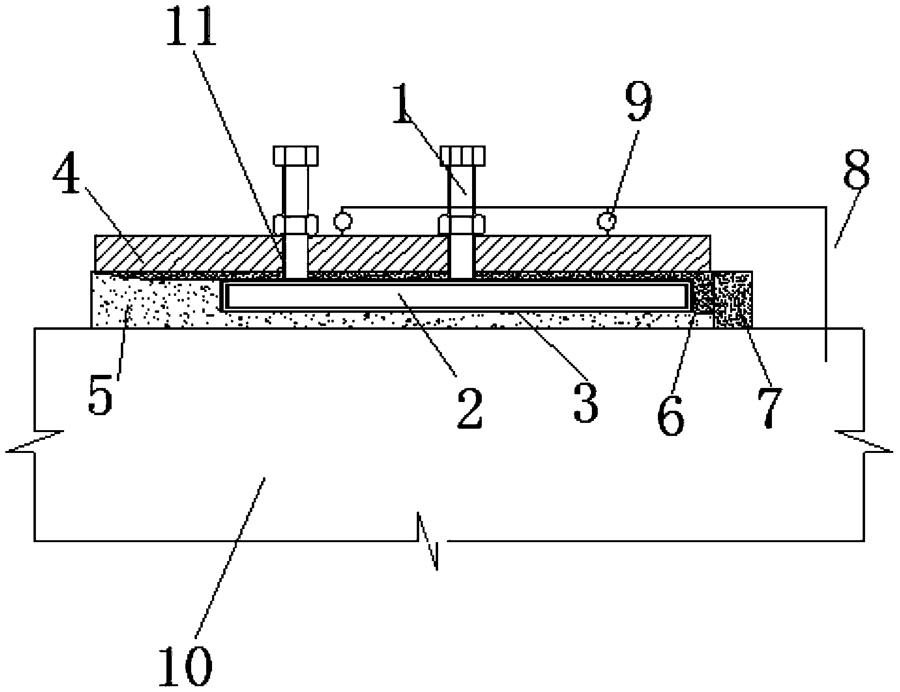
摘要
本发明公开了一种用于锚板基础的螺杆顶升纠倾加固方法,具体涉及建(构)筑物地基基础整体倾斜或基础沉降的纠倾加固领域。本发明确定钢锚板纠倾区域及导洞位置,钻孔,塞入预制钢梁,安装螺杆及螺帽,安装百分表,分区逐级循环使螺杆自上而下稳步慢速旋入,使得钢锚板分级逐步向上抬升至工艺设计要求的顶升量;采用高强水泥砂浆封堵导洞口,围绕钢锚板外缘设置一道细石砼封闭圈,锚板与基础之间的孔隙灌浆区域进行注浆处理,即完工。本发明减少了基础下方开挖量,节省大量的钢筋混凝土材料,施工速度快,可操作性及可控性较好,对上部结构的影响小,安全可靠,加固效果较好;高强螺杆除具顶升功能外,同时兼做受力支承装置,处理后无回弹变形。


