授权公布号:CN218643376U
一种水下灌注混凝土标高控制装置
有效
申请
2022-08-10
申请公布
1970-01-01
授权
2023-03-17
预估到期
2032-08-10
| 申请号 | CN202222094644.4 |
| 申请日 | 2022-08-10 |
| 授权公布号 | CN218643376U |
| 授权公告日 | 2023-03-17 |
| 分类号 | E02D15/06;G01F23/22 |
| 分类 | 水利工程;基础;疏浚; |
| 申请人名称 | 中勘冶金勘察设计研究院有限责任公司 |
| 申请人地址 | 河北省保定市东风中路1285号 |
专利法律状态
2023-03-17
授权
状态信息
授权
摘要
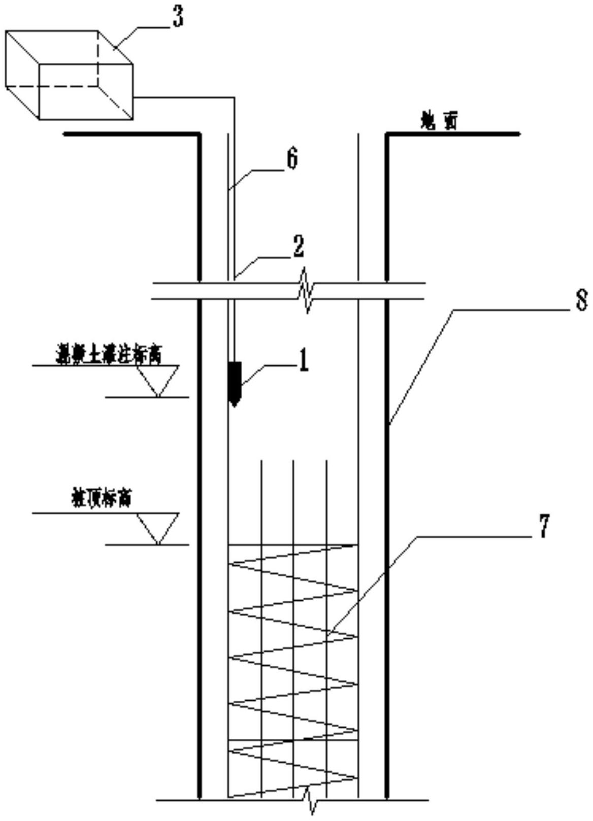
本实用新型提供一种水下灌注混凝土标高控制装置,涉及混凝土标高技术领域,包括计算机设备、吊筋和桩孔,所述桩孔的内部安装有钢筋笼,所述钢筋笼上焊接有吊筋,所述吊筋上焊接有托架,所述托架的顶部焊接有固定卡子,所述固定卡子的内部安装有PH传感器;通过将PH传感器安装于混凝土确定的超高位置,在混凝土灌注前,先测定混凝土的PH值,混凝土灌注施工中,当计算机设备显示的PH最大值、且与混凝土灌注前测定的PH数值相当时,即可判定混凝土达到超灌高度要求,混凝土灌注施工结束。


