授权公布号:CN220202571U
一种上游法在役尾矿库堆积坝坡面无土复绿结构
有效
申请
2023-05-11
申请公布
1970-01-01
授权
2023-12-19
预估到期
2033-05-11
| 申请号 | CN202321128338.6 |
| 申请日 | 2023-05-11 |
| 授权公布号 | CN220202571U |
| 授权公告日 | 2023-12-19 |
| 分类号 | E02B3/12;A01G9/02;A01G9/029;E02D17/20 |
| 分类 | 水利工程;基础;疏浚; |
| 申请人名称 | 中国有色金属工业昆明勘察设计研究院有限公司 |
| 申请人地址 | 云南省昆明市盘龙区东风东路东风巷1号 |
专利法律状态
2023-12-19
授权
状态信息
授权
摘要
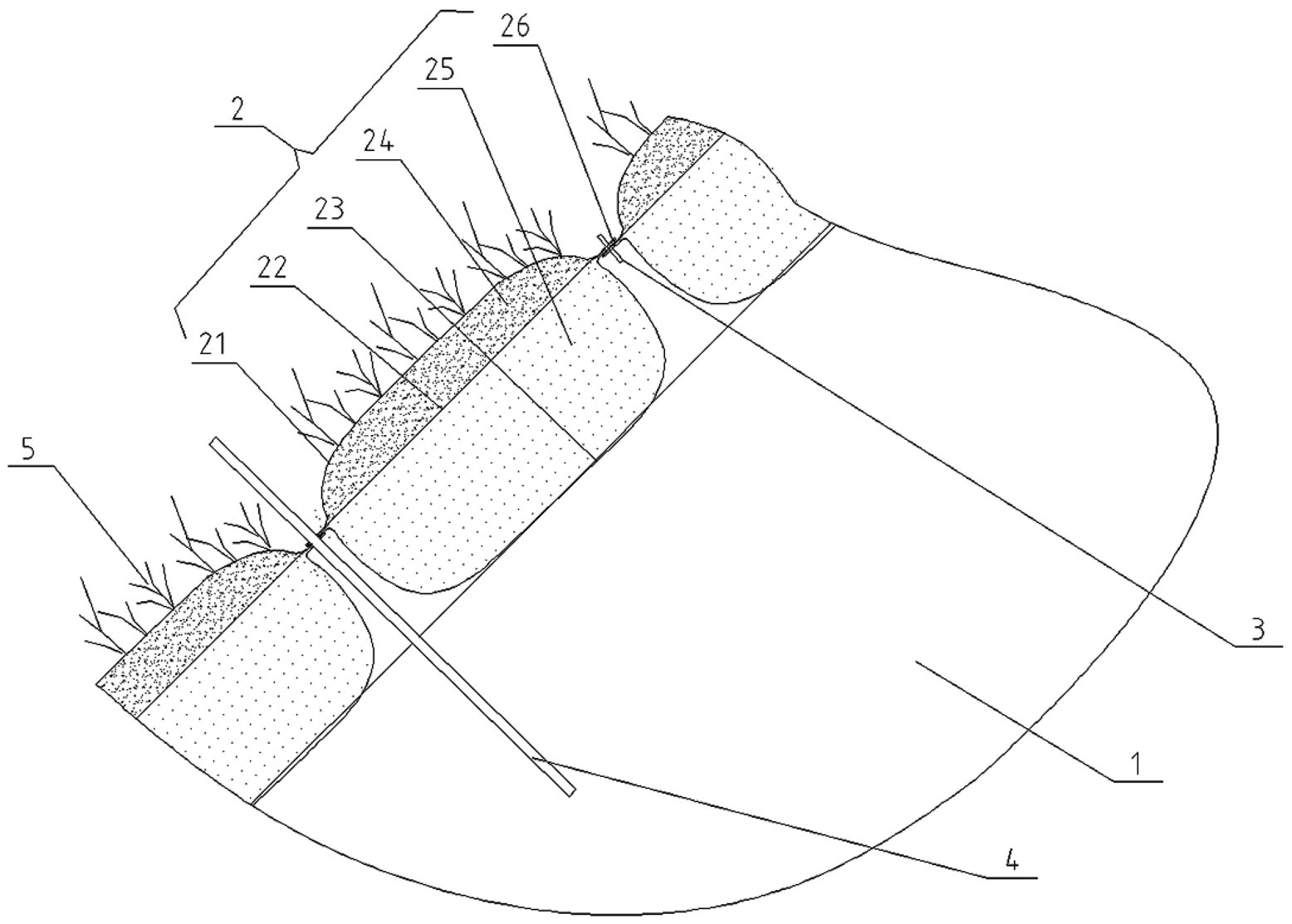
本实用新型公开一种上游法在役尾矿库堆积坝坡面无土复绿结构,带分隔腔植生袋贴合布设在堆积坝坡面上;带分隔腔植生袋的袋体面层与袋体底层边沿相互连接形成空心结构袋体,分隔层设于袋体内且边沿与袋体边连接,袋体面层与分隔层间形成填充种子萌芽基材的种子萌芽腔,袋体底层与分隔层间形成填充植被生长基材的植被生长腔,袋体底层紧贴堆积坝坡面临土侧且袋体面层朝向临空侧。本实用新型在堆积坝坡面上贴合布设带分隔腔植生袋,并通过带分隔腔植生袋的结构布局、材料设计和填料配置等功能分区,克服现有尾矿库堆积坝坡面复绿天然土壤消耗大、在役期间扬尘和水土流失严重的缺点,具有结构简单、不消耗天然土壤、坡面抗冲刷和抑尘能力好的特点。


