授权公布号:CN219507745U
一种受污染地下水的高效治理装置
有效
申请
2023-03-29
申请公布
1970-01-01
授权
2023-08-11
预估到期
2033-03-29
| 申请号 | CN202320647812.X |
| 申请日 | 2023-03-29 |
| 授权公布号 | CN219507745U |
| 授权公告日 | 2023-08-11 |
| 分类号 | C02F3/12;C02F1/00;C02F7/00;C02F3/34;C02F101/30N;C02F103/06N |
| 分类 | 水、废水、污水或污泥的处理; |
| 申请人名称 | 中国有色金属工业昆明勘察设计研究院有限公司 |
| 申请人地址 | 云南省昆明市盘龙区东风东路东风巷1号 |
专利法律状态
2023-08-11
授权
状态信息
授权
摘要
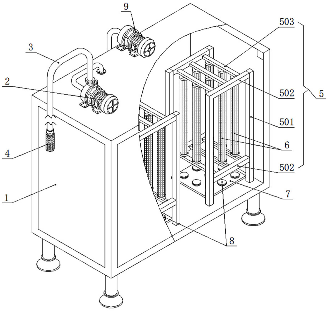
本实用新型公开一种受污染地下水的高效治理装置,抽水泵连接的抽水管上设有外筛网,抽水泵通过管道连通净化箱,支撑架设于净化箱内且其上设有MBR膜组件,分气盘设在净化箱内在支撑架下方且上端与MBR膜对应设有曝气机构,分气盘通过穿过净化箱供气管与气泵出气口连通,净化箱上还设有与MBR膜排水口连通的排水管。本实用新型在净化箱内支撑架下设分气盘,在分气盘上设与MBR膜对应并与气泵连通的曝气机构,从而既能使箱内微生物在充足溶解氧的条件下对污水中的有机物快速分解,且气泡还能使MBR膜抖动来减少活性污泥在表面的积累,达到提高污水处理能力和减少人工维护的目的,具有结构简单、占地面积小、治理效率高、成本低的特点。


