授权公布号:CN219797870U
矿热炉下料管
有效
申请
2023-04-17
申请公布
1970-01-01
授权
2023-10-03
预估到期
2033-04-17
| 申请号 | CN202320864150.1 |
| 申请日 | 2023-04-17 |
| 授权公布号 | CN219797870U |
| 授权公告日 | 2023-10-03 |
| 分类号 | F27B3/18 |
| 分类 | 炉;窑;烘烤炉;蒸馏炉〔4〕; |
| 申请人名称 | 内蒙古新创冶金有限公司 |
| 申请人地址 | 内蒙古自治区乌兰察布市察哈尔右翼前旗天皮山冶金化工工业园区 |
专利法律状态
2023-10-03
授权
状态信息
授权
摘要
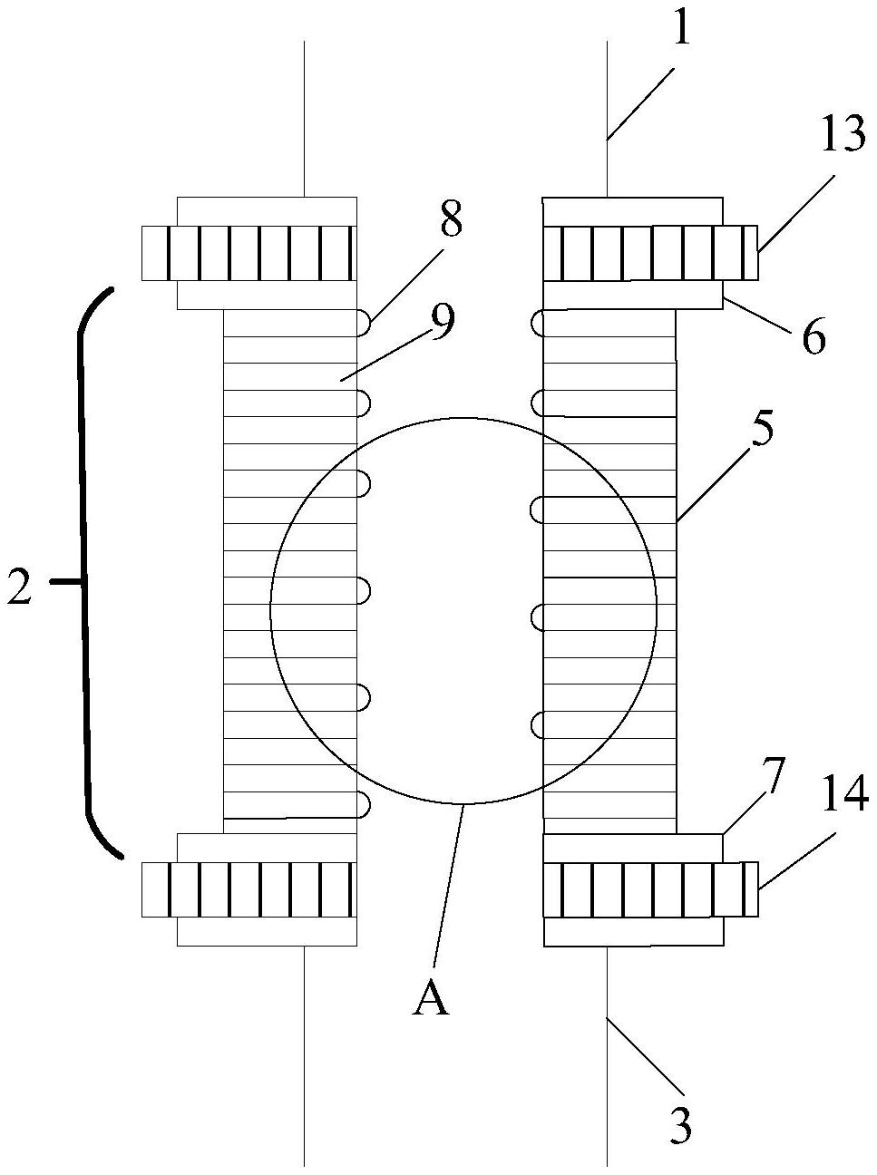
本申请提供一种矿热炉下料管,包括从上到下依次连通的分料段、绝缘段、倾斜段和下料段,料仓的出料口与所述分料段的进料口连通,所述下料段的出料口与所述矿热炉的进料口连通;所述绝缘段包括钢筒、上法兰、下法兰、弧面形绝缘砖和平面形绝缘砖,所述上法兰和所述下法兰垂直设置在所述钢筒的两端处,并延伸到所述钢筒内部,所述弧面形绝缘砖和平面形绝缘砖贴合所述钢筒内壁交错砌筑在所述上法兰和下法兰之间;所述弧面形绝缘砖的一侧面为弧面,在砌筑时,所述弧面位于靠近所述钢筒轴线处,且所述弧面形绝缘砖长于所述平面形绝缘砖。本申请延长了绝缘段的使用寿命。


