授权公布号:CN219572679U
矿热炉下料装置
有效
申请
2023-02-28
申请公布
1970-01-01
授权
2023-08-22
预估到期
2033-02-28
| 申请号 | CN202320342149.2 |
| 申请日 | 2023-02-28 |
| 授权公布号 | CN219572679U |
| 授权公告日 | 2023-08-22 |
| 分类号 | F27D3/00;F27D11/10;F27B17/00;B02C11/02 |
| 分类 | 炉;窑;烘烤炉;蒸馏炉〔4〕; |
| 申请人名称 | 内蒙古新创冶金有限公司 |
| 申请人地址 | 内蒙古自治区乌兰察布市察哈尔右翼前旗天皮山冶金化工工业园区 |
专利法律状态
2023-08-22
授权
状态信息
授权
摘要
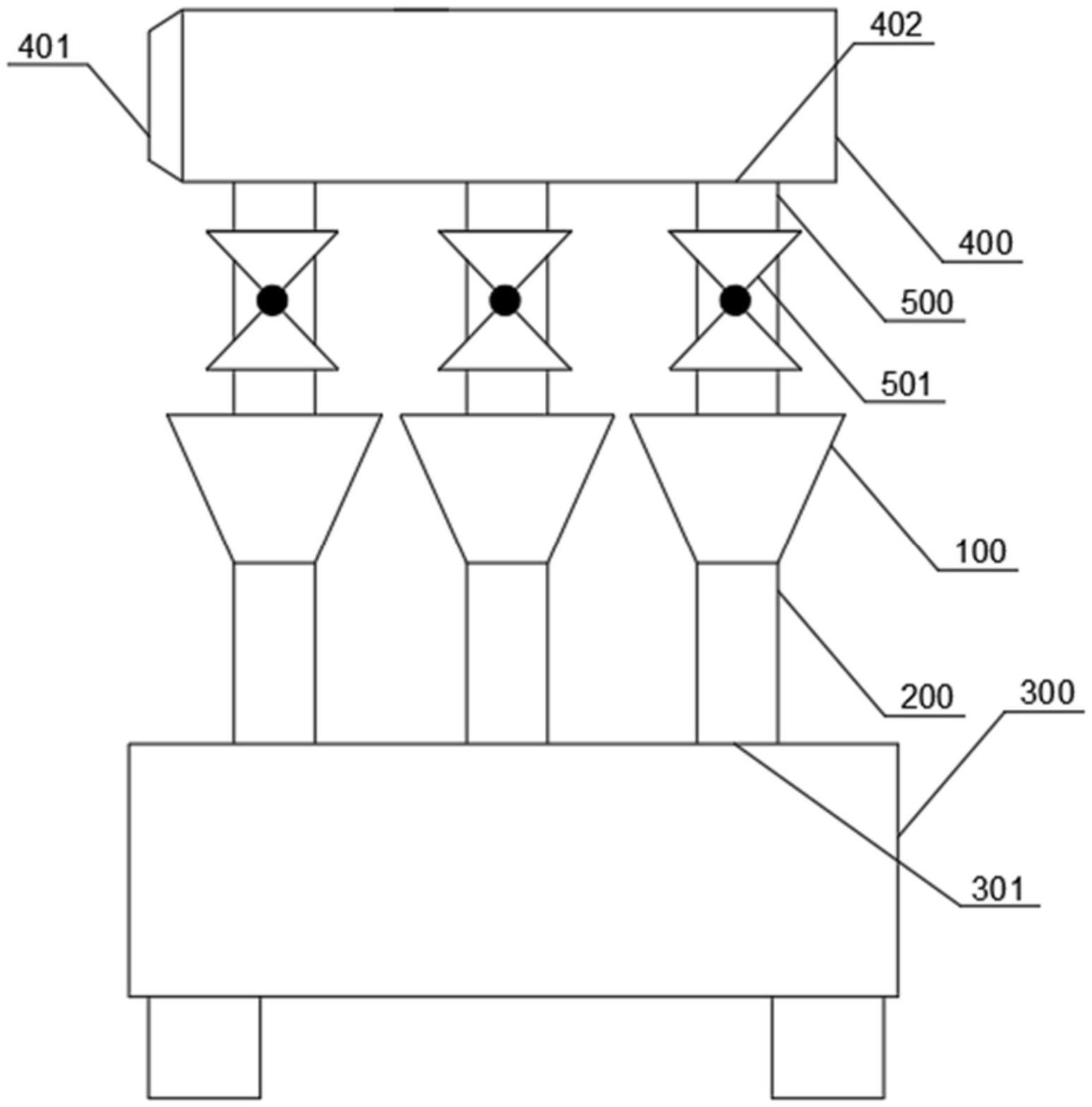
本申请提供一种矿热炉下料装置,包括:料斗、下料管道和矿热炉;料斗的底部连通在所述下料管道的顶端;下料管道的内壁上从上至下设置有多个落料组件;每个落料组件包括落料板、弹簧和支撑板;落料板的一侧铰接在下料管道的内壁上且向下倾斜,支撑板的一侧水平设置在下料管道的内壁上,支撑板位于下料板的正下方,弹簧的两端分别连接在落料板的下表面和支撑板的上表面上;矿热炉上设置有第一进料口,第一进料口与下料管道的底端连通。本申请避免进入下料管道内的物料集中落入矿热炉内的电极周围以及对集中落入矿热炉内的电极周围的物料进行拨料的操作,使得从下料管道进入矿热炉内的物料充分被冶炼,从而提高了铁合金的冶炼效率。


