授权公布号:CN210512458U
一种利用热能降低物料水份的干燥机
有效
申请
2019-07-23
申请公布
1970-01-01
授权
2020-05-12
预估到期
2029-07-23
| 申请号 | CN201921155651.2 |
| 申请日 | 2019-07-23 |
| 授权公布号 | CN210512458U |
| 授权公告日 | 2020-05-12 |
| 分类号 | F26B11/16;F26B25/04;F26B25/02;F26B21/00;F26B25/00 |
| 分类 | 干燥; |
| 申请人名称 | 江西联达冶金有限公司 |
| 申请人地址 | 江西省萍乡市湘东区产业园D区2-115号 |
专利法律状态
2020-05-12
授权
状态信息
授权
摘要
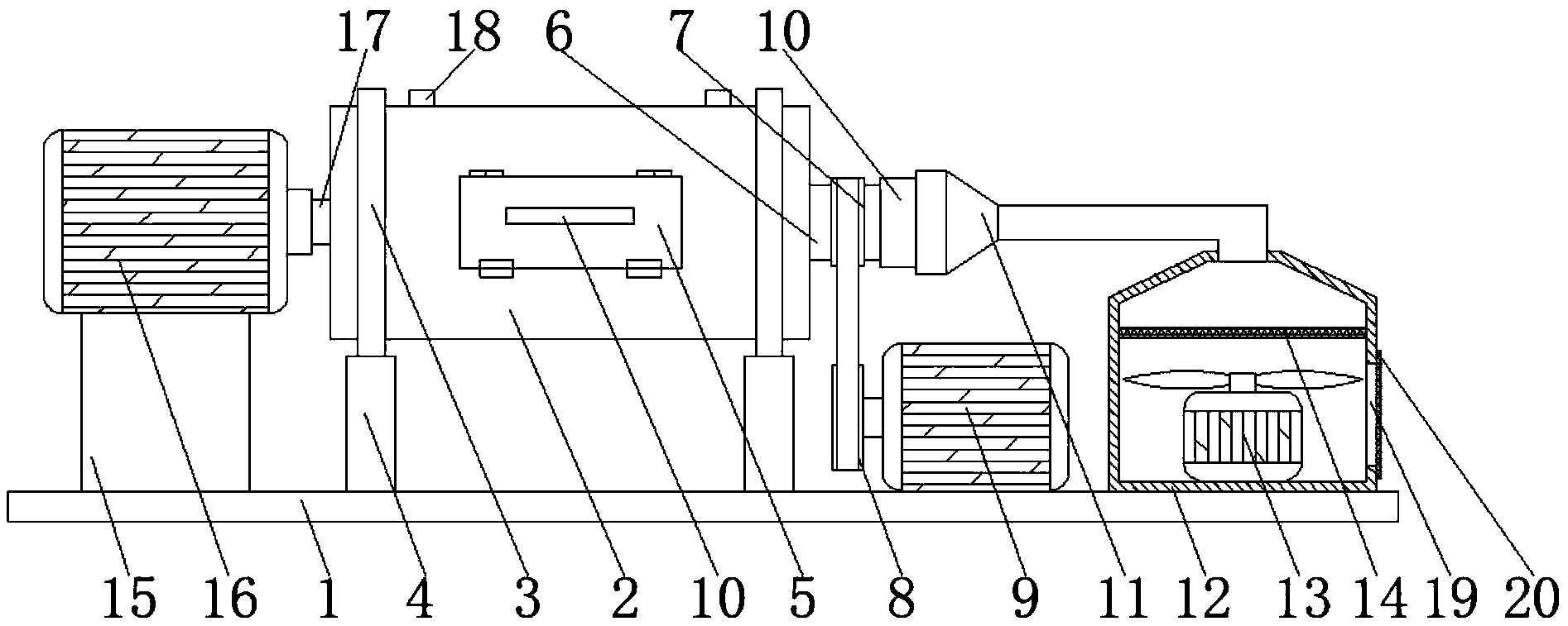
本实用新型公开了一种利用热能降低物料水份的干燥机,包括底板和物料箱,所述物料箱表面的两端均固定套设有第一轴承,所述第一轴承的底部固定连接有连接杆,所述连接杆的底部与底板固定连接。本实用新型通过第一轴承、连接杆、进出料门、进气管、从动皮带盘、主动皮带盘和第一电机的配合使用,能够带动物料箱转动,更好的保证了烘干工作的进行,通过第二轴承、输气管、加热箱、吹风扇和加热网的配合使用,能够对物料箱的内腔输送热风,极大的提高了烘干效率,通过第二电机和搅拌杆的配合使用,能够对物料箱内腔的物料进行搅拌,使其与物料箱相对转动,极大的提高了搅拌的效率,提升干燥机的实用性。


