授权公布号:CN210495809U
一种工业废气处理用的填料塔
有效
申请
2019-06-17
申请公布
1970-01-01
授权
2020-05-12
预估到期
2029-06-17
| 申请号 | CN201920908823.2 |
| 申请日 | 2019-06-17 |
| 授权公布号 | CN210495809U |
| 授权公告日 | 2020-05-12 |
| 分类号 | B01D53/14;B01D50/00;B01D29/01 |
| 分类 | 一般的物理或化学的方法或装置; |
| 申请人名称 | 江西联达冶金有限公司 |
| 申请人地址 | 江西省萍乡市湘东区产业园D区2-115号 |
专利法律状态
2020-05-12
授权
状态信息
授权
摘要
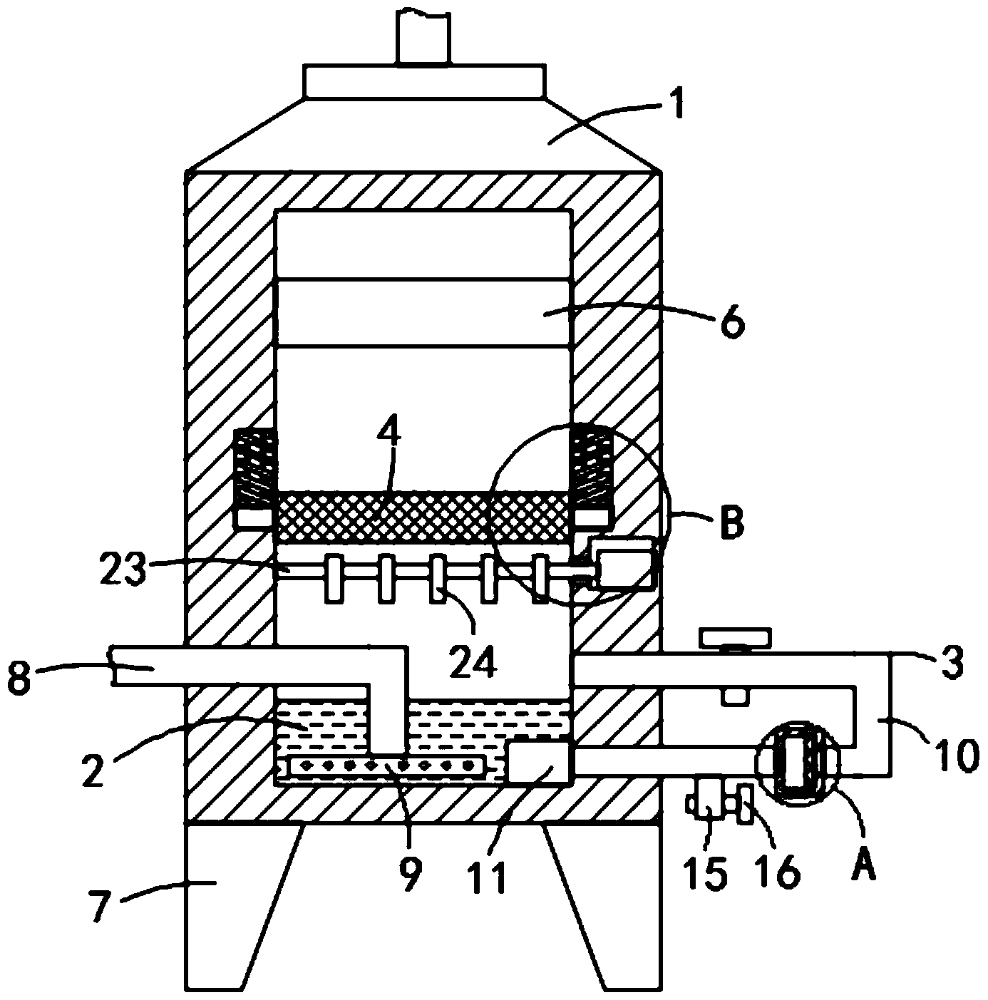
本实用新型公开了一种工业废气处理用的填料塔,包括填料塔本体,所述填料塔本体内底部盛放有适量的过滤水,所述填料塔本体内设有用于多过滤水进行清理的清理机构,所述填料塔本体内滑动连接有第一过滤网,所述填料塔本体的内侧壁上设有多个用于对第一过滤网进行缓冲的缓冲机构,所述填料塔本体内设有用于对第一过滤网进行敲打的敲打机构,所述过滤网的上方设有第二过滤网,所述第二过滤网的周身侧壁与填料塔本体内侧壁固定连接,所述填料塔本体的下端四角处均固定连接有支撑脚,所述填料塔本体的进气口固定连接有进气管道。本实用新型可以对废气进行多次过滤,且可以节约水资源。


