授权公布号:CN216742866U
塑料截止阀
有效
申请
2021-11-05
申请公布
1970-01-01
授权
2022-06-14
预估到期
2031-11-05
| 申请号 | CN202122688359.0 |
| 申请日 | 2021-11-05 |
| 授权公布号 | CN216742866U |
| 授权公告日 | 2022-06-14 |
| 分类号 | F16K1/02;F16K1/32;F16K1/36;F16K1/46;F16K27/02;F16K31/60 |
| 分类 | 工程元件或部件;为产生和保持机器或设备的有效运行的一般措施;一般绝热; |
| 申请人名称 | 宏岳塑胶集团股份有限公司 |
| 申请人地址 | 河北省秦皇岛市经济技术开发区龙海道81号 |
专利法律状态
2022-06-14
授权
状态信息
授权
摘要
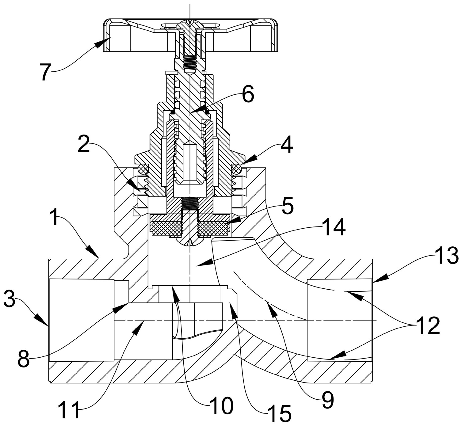
本申请公开了一种塑料截止阀,属于阀门领域,用于管路通断,其阀体,所述阀体的内部设置有阀口,阀口与位于阀体内部的胶垫配合,胶垫位于阀芯的底端且在手柄带动阀芯转动的过程中随阀芯运动,所述阀口的两端分别连通有入流通道、出流通道,所述入流通道与阀体上的入口连接口连通,所述出流通道与阀体上的出口连接口连通;所述阀口在与入流通道贯通位置处的上方阀体处形成向入流通道内延伸的外档面,在出流通道与阀口贯通位置处的下方阀体处形成下档面,所述出流通道为圆弧形通道。鉴于上述技术方案,通过对包括入流通道、出流通道在内的阀体内部通道进行优化设计,能够实现在不改变密封效果的前提下保证通水量,降低管道系统压力损失。


