授权公布号:CN107171262B
一种多片立式母排的交叉结构及交叉方法
有效
申请
2017-04-10
申请公布
2017-09-15
授权
2019-05-07
预估到期
2037-04-10
| 申请号 | CN201710230100.7 |
| 申请日 | 2017-04-10 |
| 申请公布号 | CN107171262A |
| 申请公布日 | 2017-09-15 |
| 授权公布号 | CN107171262B |
| 授权公告日 | 2019-05-07 |
| 分类号 | H02G5/00 |
| 分类 | 发电、变电或配电; |
| 申请人名称 | 云南铜业股份有限公司 |
| 申请人地址 | 云南省昆明市五华区王家桥 |
专利法律状态
2019-05-07
授权
状态信息
授权
2017-10-17
实质审查的生效
状态信息
实质审查的生效;IPC(主分类):H02G5/00;申请日:20170410
2017-09-15
公布
状态信息
公布
摘要
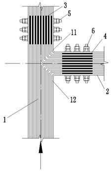
本发明公开一种多片立式母排的交叉结构及交叉方法,其中多片立式母排的交叉结构包括主母排以及与所述主母排侧边连接的子母排,所述主母排一端插满有导电性能的第一垫片,所述子母排一端插满有导电性能的第二垫片。本发明解决了立式母排交叉连接需要门型结构从里到外插入进行两次搭接导致的安装高度受限、穿螺栓难度大、整体不美观且接头多、线路接触电阻较大的问题。


