授权公布号:CN214038925U
一种新型通风消声器型材结构
有效
申请
2020-11-30
申请公布
1970-01-01
授权
2021-08-24
预估到期
2030-11-30
| 申请号 | CN202022844935.1 |
| 申请日 | 2020-11-30 |
| 授权公布号 | CN214038925U |
| 授权公告日 | 2021-08-24 |
| 分类号 | F24F13/24;F24F13/02 |
| 分类 | 供热;炉灶;通风; |
| 申请人名称 | 上海伊新环保科技发展有限公司 |
| 申请人地址 | 上海市松江区新浜镇天台路68号-3 |
专利法律状态
2021-08-24
授权
状态信息
授权
摘要
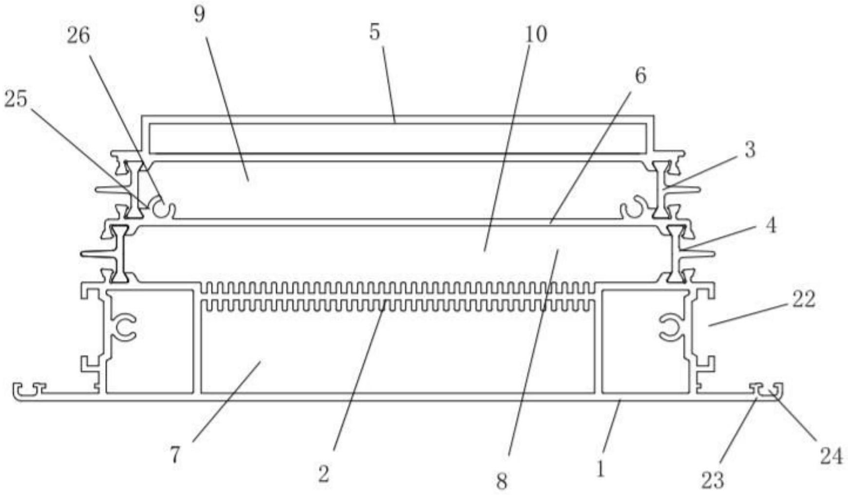
本实用新型公开了一种新型通风消声器型材结构,涉及到消声器技术领域,包括消声器骨架、换热降噪机构、第一隔热条、第二隔热条、第一骨架和第二骨架,消声器骨架上设有出风通道,出风通道的一侧设有换热降噪机构和第一骨架,第一骨架位于换热降噪机构远离出风通道的一侧,且第一骨架与换热降噪机构之间形成消声腔体,第二骨架设于消声腔体内,且第二骨架将消声腔体分隔成第一进风通道和第二进风通道,第一进风通道位于第一骨架与第二骨架之间,第二进风通道位于第二骨架与换热降噪机构之间,第一进风道的两侧通过两第一隔热条密封,第二进风道的两侧通过两第二隔热条密封。其生产成本低,能够起到换风、透气降噪音的作用。


