授权公布号:CN113912242B
一种纳米级流体磁化混合气泡发生器
有效
申请
2021-09-26
申请公布
2022-01-11
授权
2023-10-24
预估到期
2041-09-26
| 申请号 | CN202111127538.5 |
| 申请日 | 2021-09-26 |
| 申请公布号 | CN113912242A |
| 申请公布日 | 2022-01-11 |
| 授权公布号 | CN113912242B |
| 授权公告日 | 2023-10-24 |
| 分类号 | C02F7/00;C02F5/00;C02F1/48 |
| 分类 | 水、废水、污水或污泥的处理; |
| 申请人名称 | 宁波新芝生物科技股份有限公司 |
| 申请人地址 | 浙江省宁波市高新区木槿路65号 |
专利法律状态
2023-10-24
授权
状态信息
授权
2022-01-11
公布
状态信息
公布
摘要
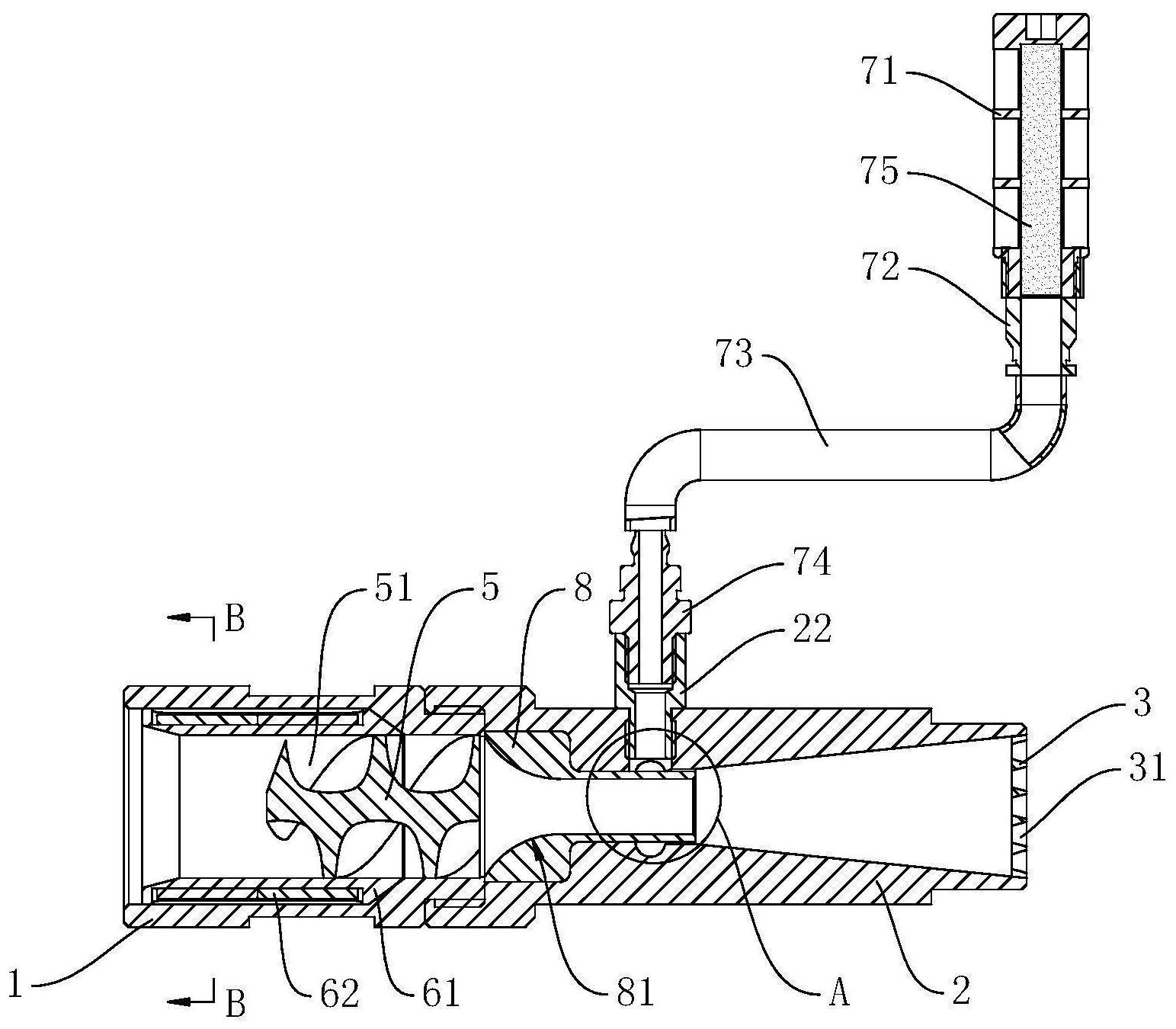
本发明公开了一种纳米级流体磁化混合气泡发生器,包括进水外套、出水外套、增泡装置板、磁化机构、螺旋水流导向柱和氧气过滤机构,进水外套与出水外套前后设置并固定连接,增泡装置板设置在出水外套的出水口处,磁化机构和螺旋水流导向柱分别前后设置在进水外套内,磁化机构用于磁化进入进水外套内的水流,螺旋水流导向柱的外侧设置有螺旋水槽,螺旋水槽沿螺旋水流导向柱的轴向呈螺旋状设置,螺旋水槽与出水外套相通,出水外套内设有增压空气曝气口,增压空气曝气口与氧气过滤机构的出气口相通。本发明气泡发生器结构简单科学,使用简便,应用范围广阔,纳米级微气泡的产生效率高,解决了工业中需要同时满足流体磁化与微气泡产生之双重目的。


