授权公布号:CN212287098U
一种多功能的竹制品异形打磨机
有效
申请
2020-05-20
申请公布
1970-01-01
授权
2021-01-05
预估到期
2030-05-20
| 申请号 | CN202020848313.3 |
| 申请日 | 2020-05-20 |
| 授权公布号 | CN212287098U |
| 授权公告日 | 2021-01-05 |
| 分类号 | B24B19/24;B24B41/06 |
| 分类 | 磨削;抛光; |
| 申请人名称 | 浙江峰晖竹木制品有限公司 |
| 申请人地址 | 浙江省湖州市安吉县临港经济区昆铜工业园 |
专利法律状态
2024-01-12
专利实施许可合同备案的生效、变更及注销
状态信息
专利实施许可合同备案的生效;IPC(主分类):B24B19/24;合同备案号:X2023330000957;让与人:浙江峰晖竹木制品有限公司;受让人:安吉鸣竹竹业科技有限公司;实用新型名称:一种多功能的竹制品异形打磨机;申请日:20200520;授权公告日:20210105;许可种类:普通许可;备案日期:20231227
2021-01-05
授权
状态信息
授权
摘要
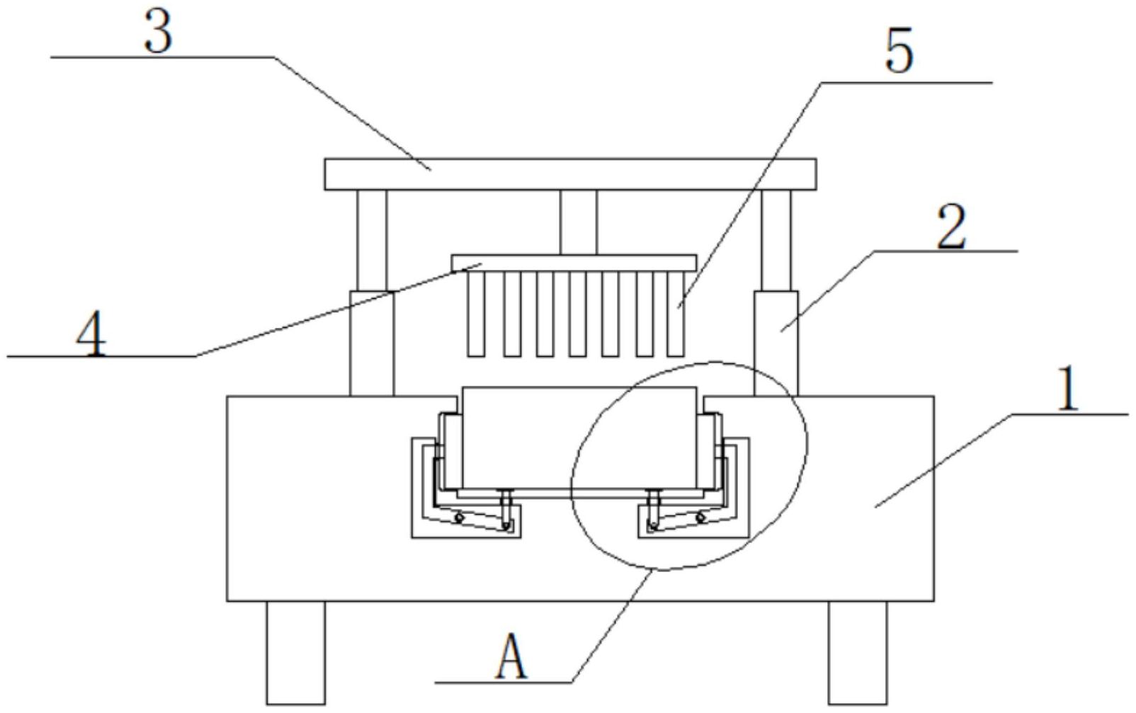
本实用新型属于打磨设备技术领域,尤其是一种多功能的竹制品异形打磨机,针对现有的打磨夹持固定的问题,现提出如下方案,其包括包括打磨台,所述打磨台的顶部分别固定安装有两个气缸,且两个气缸的顶部固定安装有同一个横板,所述横板的底部固定安装有连接板,且连接板的底部等间隔固定安装有若干个打磨柱,所述打磨台的顶部开设有打磨槽,所述打磨台的内部分别开设有两个L型空腔,且打磨槽的底部内壁上分别开设有两个第一小孔。本实用新型解决了现有技术中存在不能对竹制品进行夹持固定的缺点,使得打磨机能够对竹制品紧密固定,使得打磨柱在进行打磨的过程中竹制品不会轻易晃动,使得打磨效果更加。


