授权公布号:CN213015177U
一种安全环保的硫酸钙防静电地板
有效
申请
2020-08-11
申请公布
1970-01-01
授权
2021-04-20
预估到期
2030-08-11
| 申请号 | CN202021667773.2 |
| 申请日 | 2020-08-11 |
| 授权公布号 | CN213015177U |
| 授权公告日 | 2021-04-20 |
| 分类号 | E04F15/08;E04F15/20;E04F15/18 |
| 分类 | 建筑物; |
| 申请人名称 | 江苏森迈地板科技有限公司 |
| 申请人地址 | 江苏省常州市武进区横林镇崔卫路3号、5号 |
专利法律状态
2021-04-20
授权
状态信息
授权
摘要
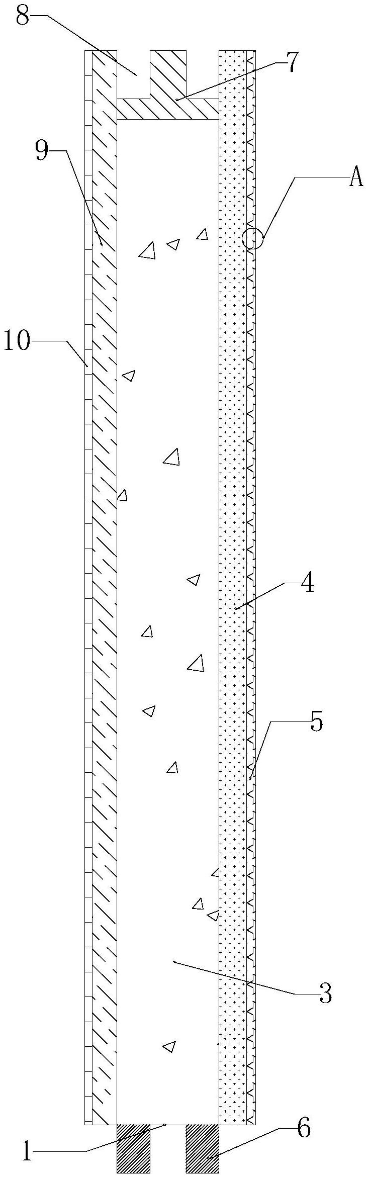
本实用新型涉及地板领域,具体为一种安全环保的硫酸钙防静电地板,包括地板体以及底板,所述地板体包括防潮层、硫酸钙填充层、隔音层、凹槽、配重块以及凸杆,所述防潮层位于底板体的最下层,使本结构不会因为潮湿而发生腐蚀,所述硫酸钙填充层位于防潮层的上端,并且硫酸钙填充层的下端面紧贴防潮层的上端面,使本结构耐高温性得以提高,所述隔音层位于防潮层的上端,并且隔音层的下端面紧贴防潮层的上端面,给本结构增加了隔音效果,所述凸杆位于地板体的右端,所述配重块位于地板体的左端,所述凹槽位于地板体的左端,并且凹槽位于配重块的左端。


