授权公布号:CN213015179U
一种覆膜的硫酸钙防静电地板
有效
申请
2020-08-11
申请公布
1970-01-01
授权
2021-04-20
预估到期
2030-08-11
| 申请号 | CN202021668008.2 |
| 申请日 | 2020-08-11 |
| 授权公布号 | CN213015179U |
| 授权公告日 | 2021-04-20 |
| 分类号 | E04F15/08;E04F15/20;E04F15/18 |
| 分类 | 建筑物; |
| 申请人名称 | 江苏森迈地板科技有限公司 |
| 申请人地址 | 江苏省常州市武进区横林镇崔卫路3号、5号 |
专利法律状态
2021-04-20
授权
状态信息
授权
摘要
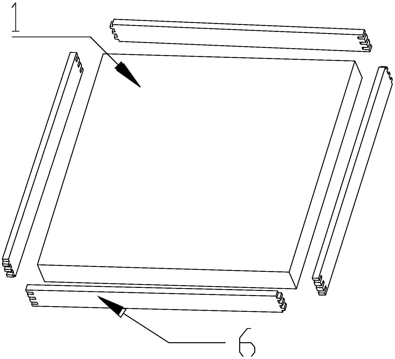
本实用新型一种覆膜的硫酸钙防静电地板,包括装饰板、隔音板、防水膜、硫酸钙板心、底板、保护膜、导电边板、凹槽以及凸槽,所述装饰板位于所述隔音板顶部,所述隔音板位于所述防水膜顶部,所述防水膜位于所述硫酸钙板心的顶端,所述硫酸钙板心位于所述保护膜的顶端,所述保护膜位于所述底板的顶端,所述导电边板位于所述硫酸钙板心的外侧,所述导电边板设为四个,所述凹槽位于所述导电边板的一端,所述凸槽位于所述导电边板的另一端,所述凹槽以及所述凸槽的形状相同,结构简单,具有良好的隔音降噪性能、较强稳定性、环保、高强度以及平整等诸多方面优势,具有隔水防水、耐磨以及减震等效果,延长地板的使用寿命。


