授权公布号:CN213015168U
一种承载力强的防静电地板
有效
申请
2020-08-11
申请公布
1970-01-01
授权
2021-04-20
预估到期
2030-08-11
| 申请号 | CN202021655618.9 |
| 申请日 | 2020-08-11 |
| 授权公布号 | CN213015168U |
| 授权公告日 | 2021-04-20 |
| 分类号 | E04F15/024;E04F15/06 |
| 分类 | 建筑物; |
| 申请人名称 | 江苏森迈地板科技有限公司 |
| 申请人地址 | 江苏省常州市武进区横林镇崔卫路3号、5号 |
专利法律状态
2021-04-20
授权
状态信息
授权
摘要
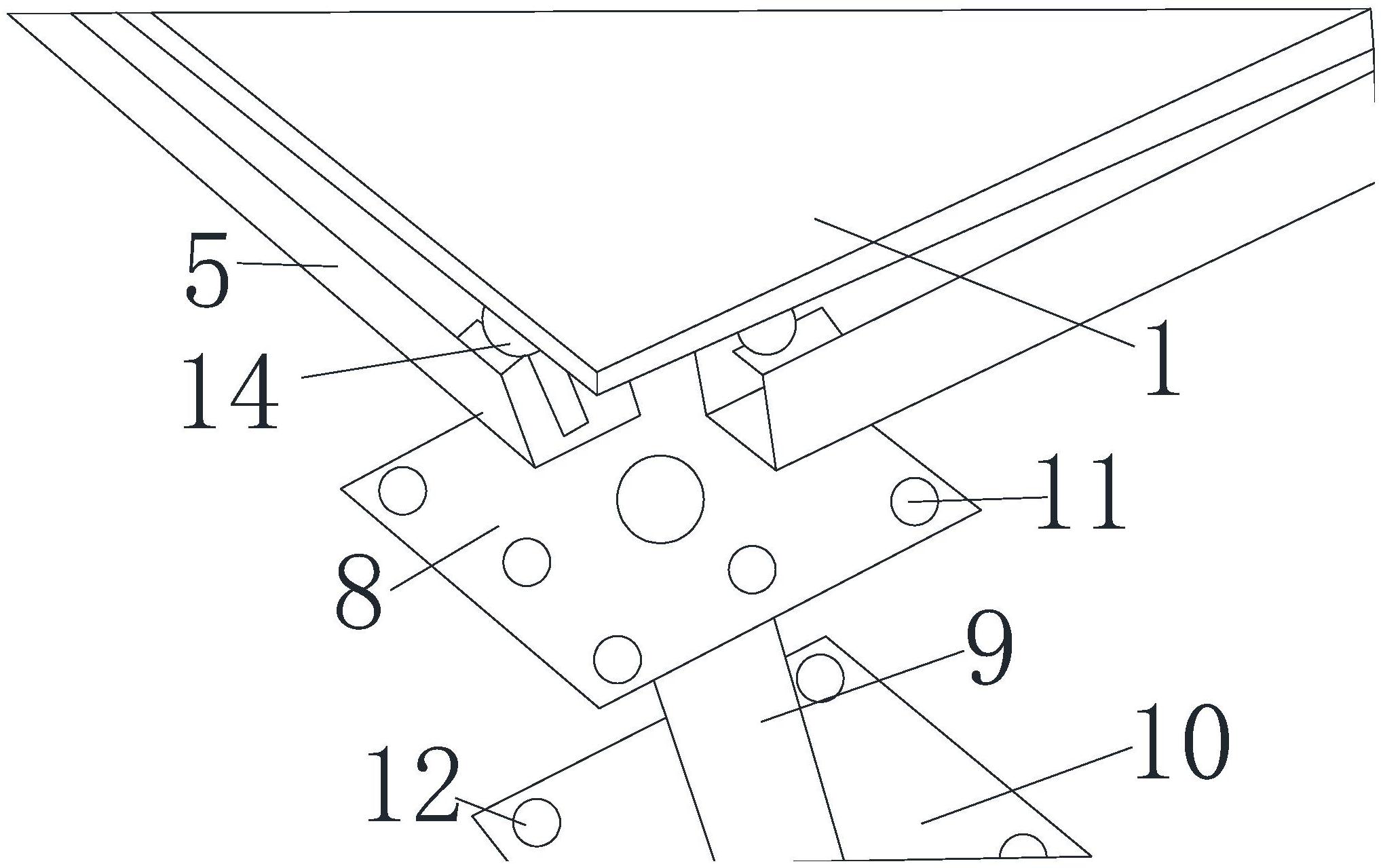
本实用新型涉及地板领域,具体为一种承载力强的防静电地板,包括底板层以及支架,地板包括装饰贴面层、钢板层、发泡水泥层、底板层以及横梁,装饰贴面层铺贴在钢板层顶部,钢板层设置在发泡水泥层顶部,发泡水泥层设置在底板层顶部,横梁设置在地板四侧,且位于装饰贴面层下方,横梁上设有第一稳固杆以及第二稳固杆,第一稳固杆嵌入发泡水泥层内,第二稳固杆位于地板底部,支架包括底座、支撑柱以及安装板,底座安装在支撑柱底部,安装板安装在支撑柱顶部,底座上设有固定孔,固定孔设置在底座边角处,安装板上设有安装孔,横梁两端设有连接孔,连接孔贯穿横梁,连接孔与安装孔之间设有连接螺栓连接,地板以及支架表面均经过静电喷塑处理。


