授权公布号:CN220652028U
一种胶膜防滑点烫装置
有效
申请
2023-08-24
申请公布
1970-01-01
授权
2024-03-22
预估到期
2033-08-24
| 申请号 | CN202322285007.X |
| 申请日 | 2023-08-24 |
| 授权公布号 | CN220652028U |
| 授权公告日 | 2024-03-22 |
| 分类号 | H01L31/18;H01L31/048;B29C65/18 |
| 分类 | 基本电气元件; |
| 申请人名称 | 晶科能源股份有限公司 |
| 申请人地址 | 江西省上饶市经济技术开发区迎宾大道1号 |
专利法律状态
2024-03-22
授权
状态信息
授权
摘要
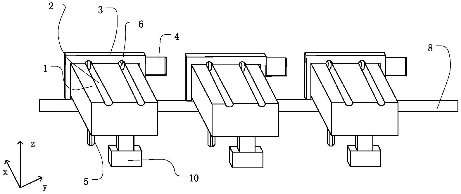
本实用新型公开了一种胶膜防滑点烫装置,包括三组沿第一方向延伸的横向轨道,横向轨道远离地面的一侧设有导轨,每个横向轨道的外侧套设有两个移动框,移动框靠近地面的一侧设有点烫头,移动框沿导轨在第一方向上移动;横向轨道的端部设有升降装置,升降装置控制横向轨道沿垂直于地面的方向移动。三组横向轨道可对应到进行点烫胶膜的上下两端以及中间位置,每组横向轨道套设两个移动框,移动框接近地面一端设有点烫头,可实现6个位置点烫,增加点烫位置,增强防滑效果;横向轨道远离地面一端设置导轨,移动框沿导轨移动,可带动点烫头移动,适应不同尺寸实际需求,提高胶膜防滑点烫装置的适用性。


