授权公布号:CN108411363B
一种硅液溢流检测设备及方法
有效
申请
2018-06-11
申请公布
2018-08-17
授权
2023-10-31
预估到期
2038-06-11
| 申请号 | CN201810594099.0 |
| 申请日 | 2018-06-11 |
| 申请公布号 | CN108411363A |
| 申请公布日 | 2018-08-17 |
| 授权公布号 | CN108411363B |
| 授权公告日 | 2023-10-31 |
| 分类号 | C30B28/06;C30B29/06 |
| 分类 | 晶体生长〔3〕; |
| 申请人名称 | 晶科能源股份有限公司 |
| 申请人地址 | 江西省上饶市上饶经济技术开发区迎宾大道1号 |
专利法律状态
2023-10-31
授权
状态信息
授权
2023-06-09
著录事项变更
状态信息
著录事项变更;IPC(主分类):C30B28/06;变更事项:申请人;变更前:晶科能源有限公司;变更后:晶科能源股份有限公司;变更事项:地址;变更前:334100 江西省上饶市经济开发区晶科大道1号;变更后:334000 江西省上饶市上饶经济技术开发区迎宾大道1号;变更事项:申请人;变更前:浙江晶科能源有限公司;变更后:浙江晶科能源有限公司
2018-09-11
实质审查的生效
状态信息
实质审查的生效;IPC(主分类):C30B28/06;申请日:20180611
2018-08-17
公布
状态信息
公布
摘要
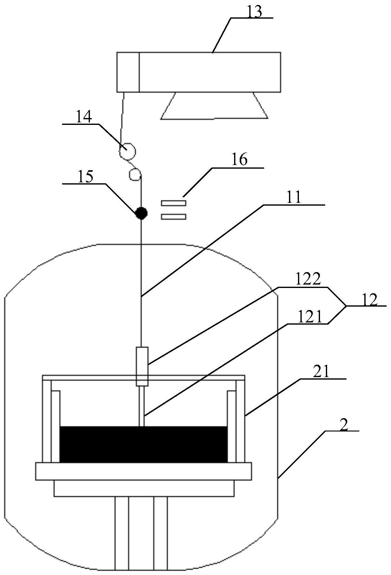
本发明公开了一种硅液溢流检测设备及方法,其中该检测设备包括:金属丝;与金属丝的下端相连、用于判断是否与铸锭炉中的硅液面相接触的液面探测装置;设置在铸锭炉的上方、用于缠绕金属丝,并在驱动装置的驱动下调节金属丝的长度的缠绕部。本申请公开的上述技术方案,利用缠绕部缠绕金属丝,当需要探测硅液面的高度时,金属丝会带动与其下端相连的液面探测装置向下移动,液面探测装置会判断其是否与硅液面接触,若发生接触,则记录金属丝的长度,通过探测时金属丝长度的变化来探测硅液面位置的变化,也即通过金属丝长度的变化来判断硅液是否溢流,从而提高硅液溢流检测的及时性,减少因硅液溢流而造成的经济损伤,降低安全事故发生的概率。


