授权公布号:CN108548657B
光伏组件载荷测试方法
有效
申请
2018-06-25
申请公布
2018-09-18
授权
2020-10-16
预估到期
2038-06-25
| 申请号 | CN201810663687.5 |
| 申请日 | 2018-06-25 |
| 申请公布号 | CN108548657A |
| 申请公布日 | 2018-09-18 |
| 授权公布号 | CN108548657B |
| 授权公告日 | 2020-10-16 |
| 分类号 | G01M11/00 |
| 分类 | 测量;测试; |
| 申请人名称 | 英利能源(中国)有限公司 |
| 申请人地址 | 河北省保定市朝阳北大街3399号 |
专利法律状态
2020-10-16
授权
状态信息
授权
2018-10-16
实质审查的生效
状态信息
实质审查的生效;IPC(主分类):G01M 11/00;专利申请号:2018106636875;申请日:20180625
2018-09-18
发明专利申请公布
状态信息
公布
摘要
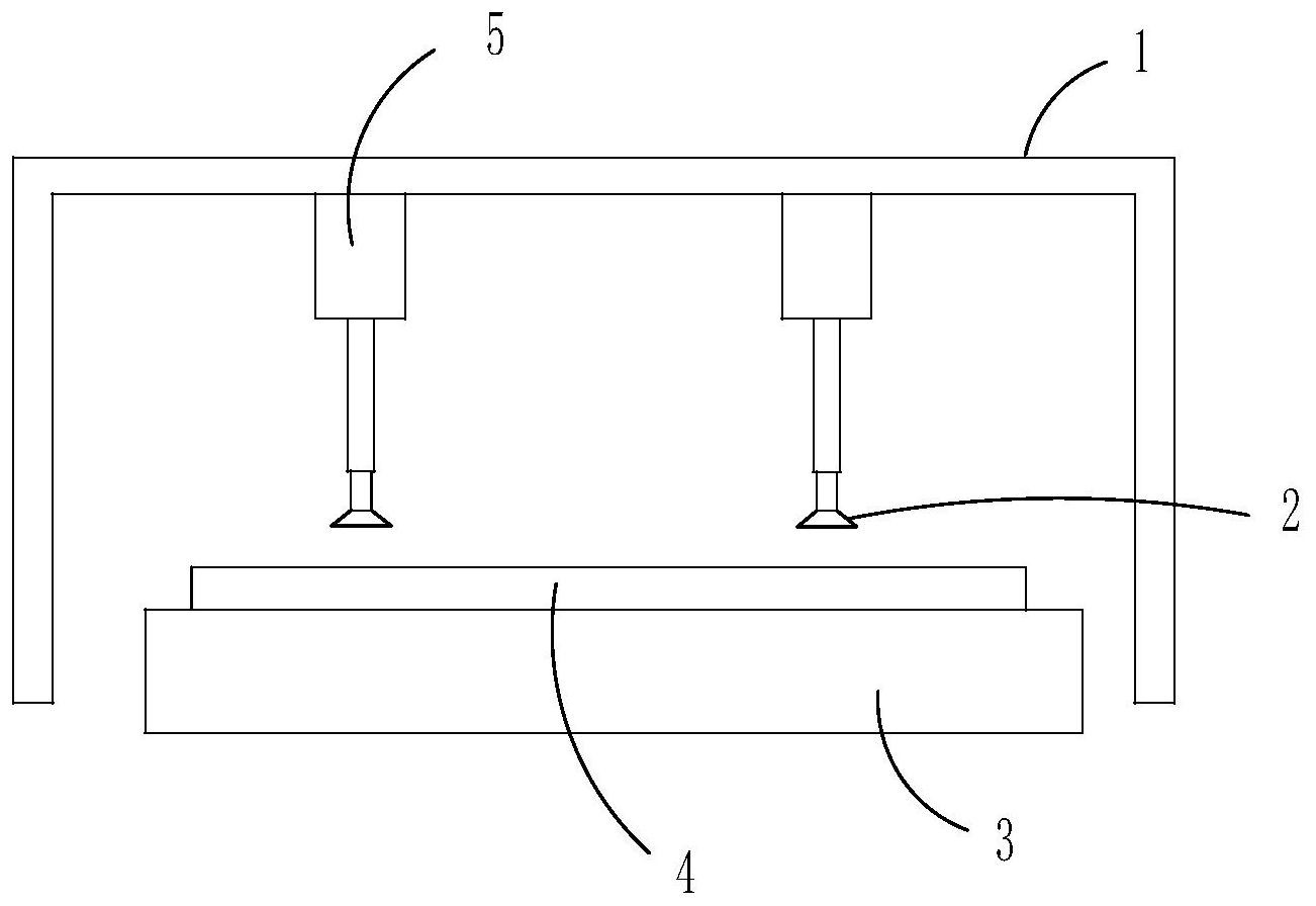
本发明提供了一种光伏组件载荷测试方法,属于光伏组件测试技术领域,测试方时,将待测试的光伏组件固定于基座上,吸盘吸附待测试的光伏组件并气缸均匀分布于光伏组件的表面;启动气缸,对光伏组件前表面施加定值压力和/或定值拉力,通过对应的红外位移传感器测得每个压力点施压过程中位移的变化,每个气缸均持续一定时间后停止;测试过程,监控系统对光伏组件内电流部的连续性进行实时监控;测试结束后,将光伏组件从基座上取下,进行功率及EL成像测试。本发明提供的光伏组件载荷测试方法,真实模拟自然环境中光伏组件在风、雨、雪的作用下的形变、功率和碎片率,能够准确验证引进的新材料的性能和现有成品的性能。


