授权公布号:CN212343731U
接线盒端子与汇流带的连接结构及光伏组件
有效
申请
2020-04-30
申请公布
1970-01-01
授权
2021-01-12
预估到期
2030-04-30
| 申请号 | CN202020711900.8 |
| 申请日 | 2020-04-30 |
| 授权公布号 | CN212343731U |
| 授权公告日 | 2021-01-12 |
| 分类号 | H02S40/34;H02S40/36 |
| 分类 | 发电、变电或配电; |
| 申请人名称 | 英利能源(中国)有限公司 |
| 申请人地址 | 河北省保定市朝阳北大街3399号 |
专利法律状态
2021-01-12
授权
状态信息
授权
摘要
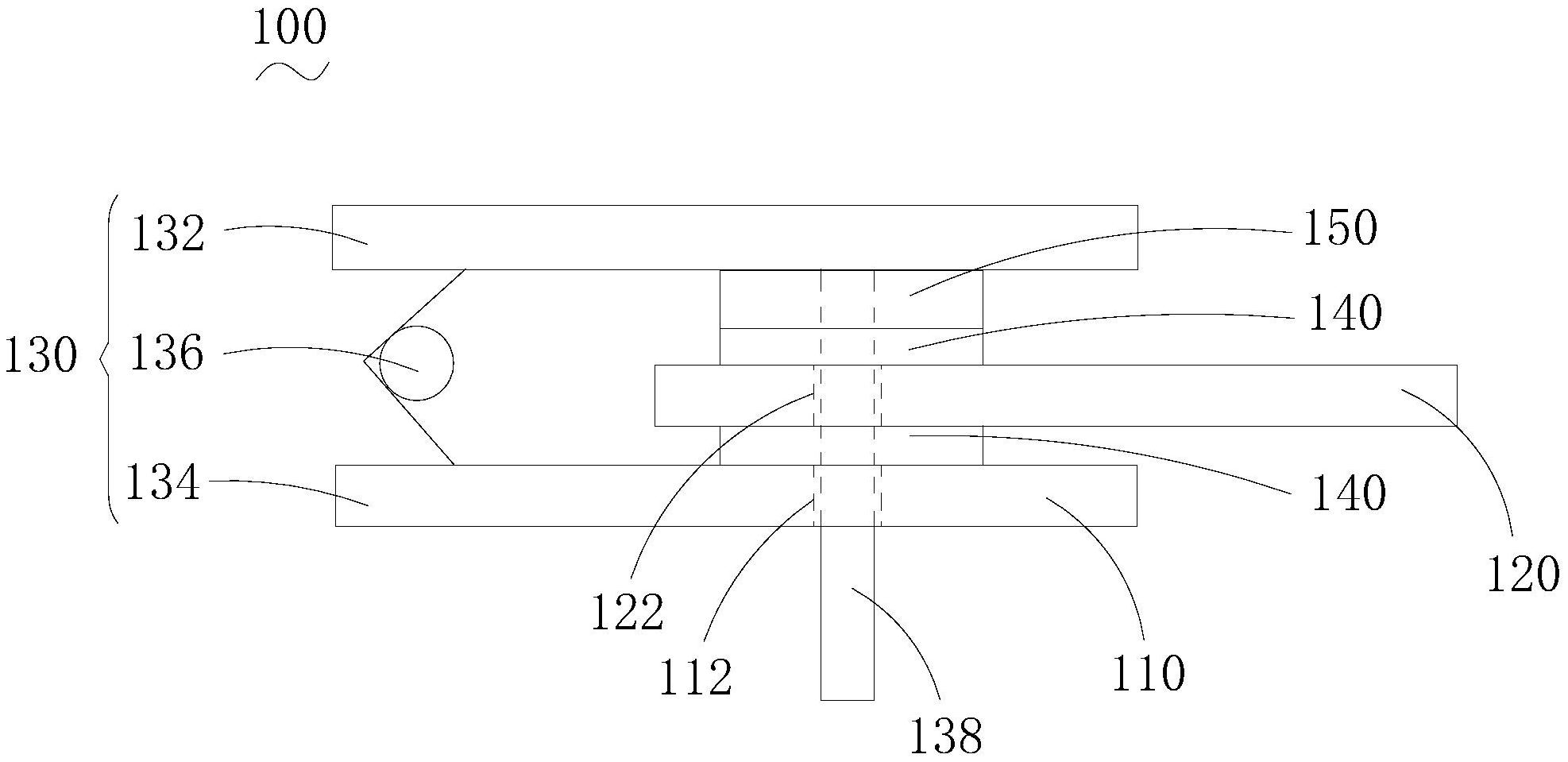
本实用新型提供了一种接线盒端子与汇流带的连接结构及光伏组件,属于光伏组件制备技术领域。接线盒端子与汇流带的连接结构包括:接线盒端子,开设有第一通孔;汇流带,开设有与第一通孔对应的第二通孔;以及弹性夹紧件,且汇流带与接线盒端子之间设有导电胶水。技术效果:采用弹性夹紧件将接线盒端子与汇流带夹紧,并利用导电胶水进行加固,保证了二者的连接更加可靠,不再使用加温设备,不会产生能源消耗,降低了生产成本;无需借助高昂的检测设备,通过肉眼及触感就可以确定连接效果;也不会产生烟雾,对操作人员不会产生危害;在安装时,操作简单方便,降低了工作难度。


