授权公布号:CN204776815U
双玻太阳能组件包装箱
有效
申请
2015-06-27
申请公布
1970-01-01
授权
2015-11-18
预估到期
2025-06-27
| 申请号 | CN201520464397.X |
| 申请日 | 2015-06-27 |
| 授权公布号 | CN204776815U |
| 授权公告日 | 2015-11-18 |
| 分类号 | B65D85/30;B65D6/16;B65D25/10 |
| 分类 | 输送;包装;贮存;搬运薄的或细丝状材料; |
| 申请人名称 | 海润光伏科技股份有限公司 |
| 申请人地址 | 江苏省无锡市江阴市徐霞客镇璜塘工业园区 |
专利法律状态
2015-11-18
授权
状态信息
授权
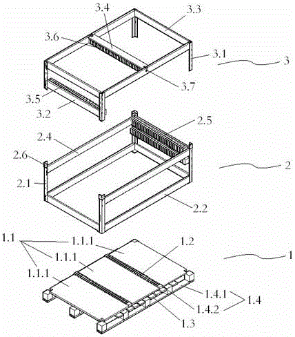
摘要
本实用新型涉及一种双玻太阳能组件包装箱,其特征在于它包括底座(1)、第一框架(2)以及第二框架(3),其中第一框架(2)与底座(1)固定连接,第二框架(3)与第一框架(2)可拆卸连接,所述底座(1)的顶面设置有底座限位条(1.2),所述第一框架(2)的右侧设置第一框架限位条(2.5),所述第二框架(3)的左侧设置有第二框架限位条(3.5),所述第二框架(3)的顶部设置有顶部限位条(3.6)。本实用新型具有结构简单,能方便快速有效的进行双玻太阳能组件的包装、运输和拆箱的优点。


