授权公布号:CN215993354U
一种座椅靠背运动与锁止装置及座椅
有效
申请
2021-09-27
申请公布
1970-01-01
授权
2022-03-11
预估到期
2031-09-27
| 申请号 | CN202122353887.0 |
| 申请日 | 2021-09-27 |
| 授权公布号 | CN215993354U |
| 授权公告日 | 2022-03-11 |
| 分类号 | A47C7/46;A47C7/40 |
| 分类 | 家具;家庭用的物品或设备;咖啡磨;香料磨;一般吸尘器; |
| 申请人名称 | 爱果乐科技股份有限公司 |
| 申请人地址 | 江苏省苏州市相城区相城大道1168号品上商业中心5幢19层1901-1905室 |
专利法律状态
2022-03-11
授权
状态信息
授权
摘要
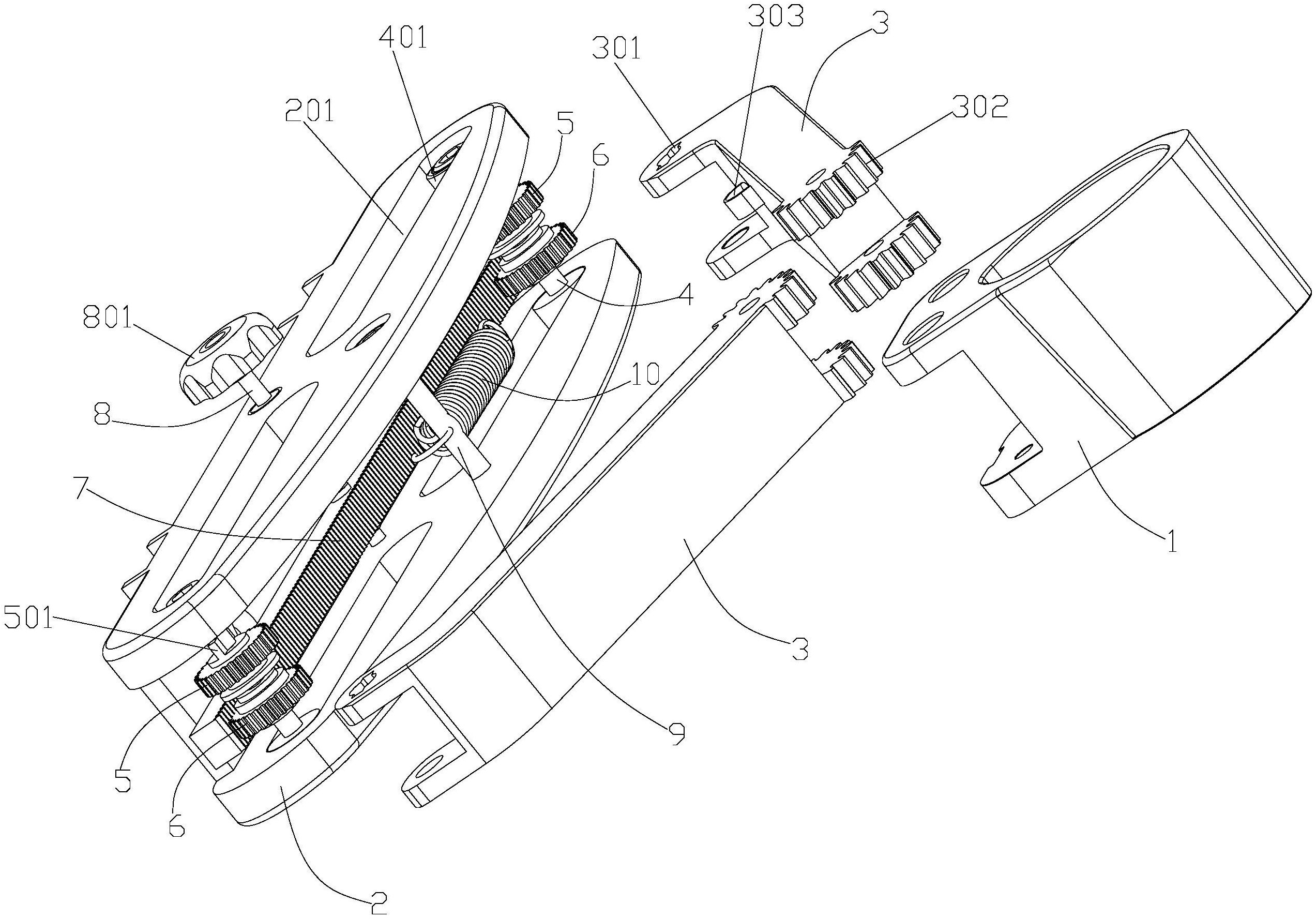
本实用新型公开了一种座椅靠背运动与锁止装置,包括固定套、靠背固定板和两个连接臂;两个连接臂的后端与固定套活动连接;连接臂的前端连接有前连接轴,该前连接轴上安装有固定齿轮和活动齿轮;靠背固定板为U形结构,连接臂的前端伸入靠背固定板的U形口中;靠背固定板的上侧和下侧分别具有开槽;前连接轴的端部插入靠背固定板的开槽中;靠背固定板中设有一个横向齿条;活动齿轮和固定齿轮能够与横向齿条啮合;靠背固定板上穿设有一个纵向丝杆,且该纵向丝杆与横向齿条连接;座椅靠背固定于靠背固定板的前侧上。该装置可以根据使用者的需求调整座椅靠背,并可使座椅靠背在任意位置锁定,满足使用者的使用需求,提高座椅的使用舒适度。


