授权公布号:CN216869665U
一种NB-IOT物联网水表的远传输出装置
有效
申请
2022-01-19
申请公布
1970-01-01
授权
2022-07-01
预估到期
2032-01-19
| 申请号 | CN202220133408.6 |
| 申请日 | 2022-01-19 |
| 授权公布号 | CN216869665U |
| 授权公告日 | 2022-07-01 |
| 分类号 | G01F15/06;G01F15/00;H04Q9/00 |
| 分类 | 测量;测试; |
| 申请人名称 | 佛山市海川智能仪表有限公司 |
| 申请人地址 | 广东省佛山市顺德区北滘镇黄龙村龙展路3号之一(住所申报) |
专利法律状态
2022-07-01
授权
状态信息
授权
摘要
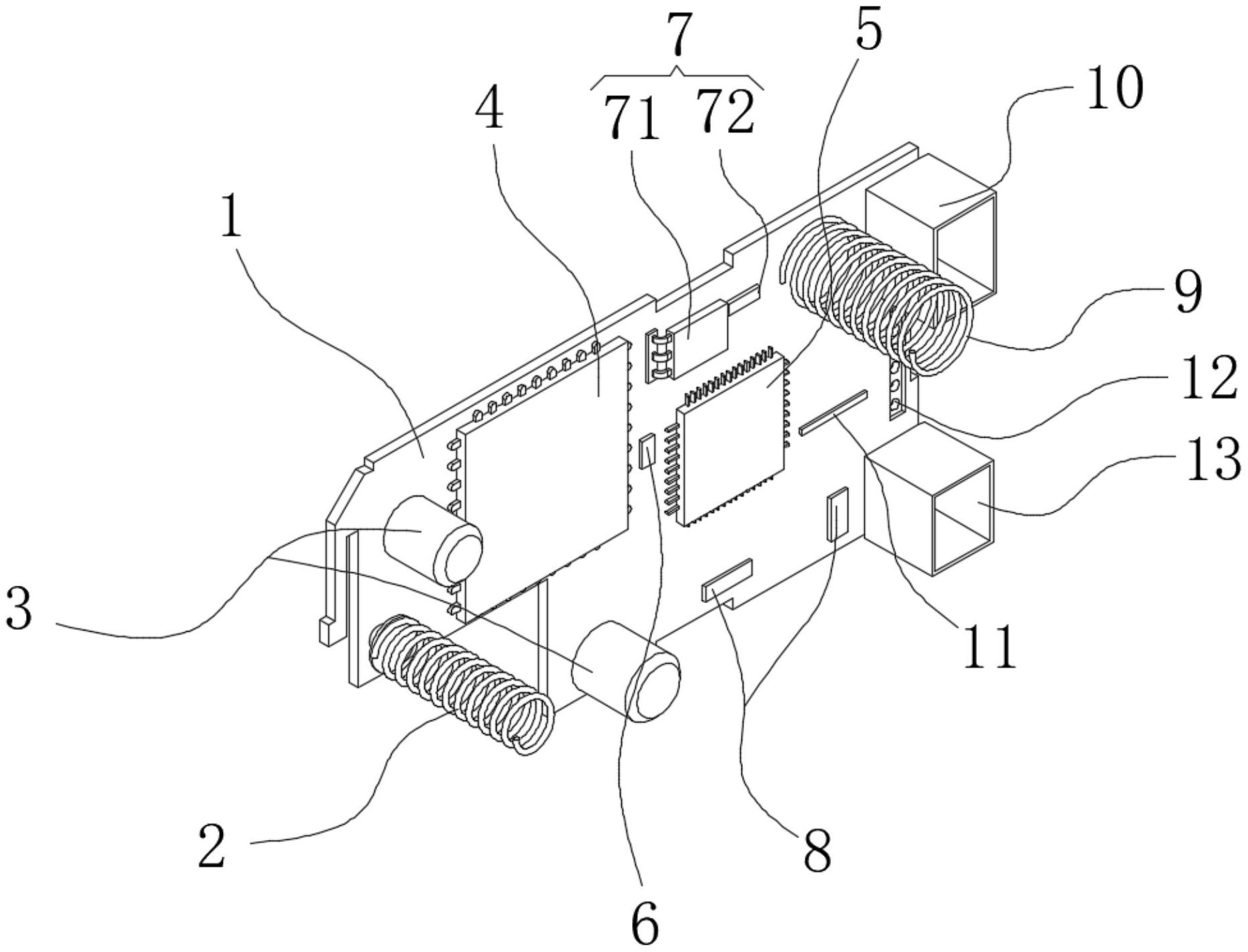
本实用新型涉及远传输出技术领域,特别是一种NB‑IOT物联网水表的远传输出装置。本实用新型的优点在于:通过设置了电路板,电路板一侧面边缘处的信号输出端焊接固定有发射天线,能够使主控芯片通过脉冲信号插头接收脉冲信号得到水表数据,并进行计算得出数据,并将数据输送给储存芯片备份储存,再通过NB信号输出模组调取储存芯片的数据,发送出NB信号,通过发射天线发出信号,通过SIM贴片卡的通信,远程传输水表数据,实现远程控制,同时通过设置了储存芯片以及备用电容,可以使数据发送前先进行储存,并通过备用电容预留电能,在断电后,备用电容可以为储存芯片供电,保证数据留存,防止断电造成的数据丢失,提高实用性。


