授权公布号:CN219038111U
一种防拆的NB-IOT智能水表
有效
申请
2022-09-27
申请公布
1970-01-01
授权
2023-05-16
预估到期
2032-09-27
| 申请号 | CN202222564737.9 |
| 申请日 | 2022-09-27 |
| 授权公布号 | CN219038111U |
| 授权公告日 | 2023-05-16 |
| 分类号 | G01F15/18;G01F15/063;F03B13/00;H02J7/00;H02J7/32;H02K7/18 |
| 分类 | 测量;测试; |
| 申请人名称 | 佛山市海川智能仪表有限公司 |
| 申请人地址 | 广东省佛山市顺德区北滘镇黄龙村龙展路3号之一 |
专利法律状态
2023-05-16
授权
状态信息
授权
摘要
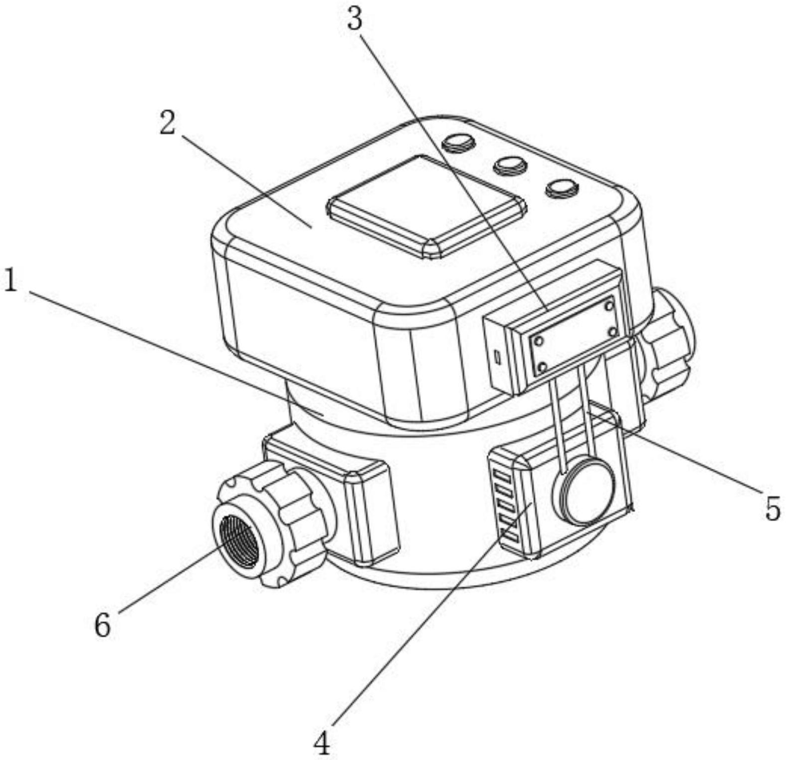
本实用新型公开了一种防拆的NB‑IOT智能水表,涉及水表技术领域,包括水表本体和NB‑IOT智能模块,所述NB‑IOT智能模块装配在水表本体的顶部。该防拆的NB‑IOT智能水表,通过活动柱和接触探头以及信号线和NB‑IOT智能模块的配合使用,使得该防拆的NB‑IOT智能水表在与供水管道之间完成连接固定后,供水管道与连接管之间通过螺纹连接,并与活动柱相互接触,供水管道推动活动柱在固定管中活动并挤压接触探头,NB‑IOT智能模块通过信号线监测接触探头与活动柱之间的接触状态,未获得授权直接拆卸水表本体和NB‑IOT智能模块时,连接管与供水管道分离后,活动柱便在弹簧弹力的作用下复位,NB‑IOT智能模块监测到接触探头的状态后向外发送警报信号。


