授权公布号:CN218180038U
一种基于NB-loT的光电直读水表
有效
申请
2022-09-29
申请公布
1970-01-01
授权
2022-12-30
预估到期
2032-09-29
| 申请号 | CN202222586622.X |
| 申请日 | 2022-09-29 |
| 授权公布号 | CN218180038U |
| 授权公告日 | 2022-12-30 |
| 分类号 | G01F15/061;G01F15/00;G01N33/18;A61L2/08 |
| 分类 | 测量;测试; |
| 申请人名称 | 佛山市海川智能仪表有限公司 |
| 申请人地址 | 广东省佛山市顺德区北滘镇黄龙村龙展路3号之一 |
专利法律状态
2022-12-30
授权
状态信息
授权
摘要
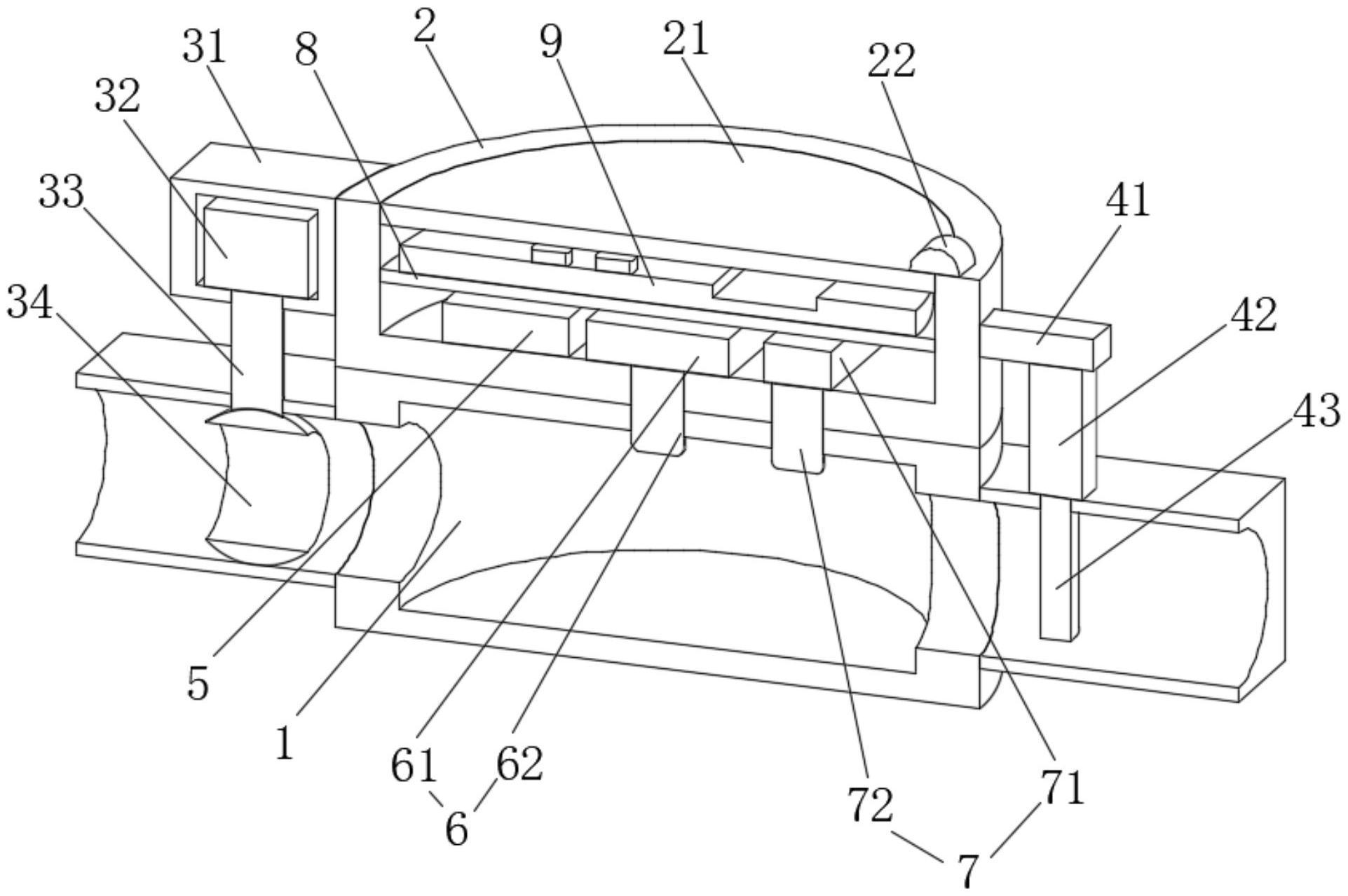
本实用新型公开了一种基于NB‑loT的光电直读水表,涉及光电直读水表技术领域,具体为一种基于NB‑loT的光电直读水表,包括通水板,所述通水板的左侧固定连接有排水管,所述通水板的右侧固定连接有入水管,所述通水板的顶部固定连接有防护板,所述防护板的左侧固定连接有密封阀组,所述防护板的右侧固定连接有检测装置。第一对比模块的使用,可以对第一接收模块和第一储存模块的数据进行对比工作,当水质出现问题时,可以将信息传输至第一传输模块和警示模块处,其中第一传输模块可以使得伺服电机驱动球阀对液体进行阻挡工作,而警示模块可以将信息远程传输至使用者电子设备处,继而可以让使用者对水质进行快速检测工作,从而提高了设备的实用性。


